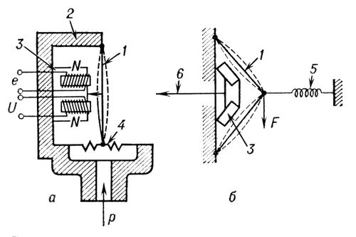
Струнные тензометры
Художник школьник текст
Ежик можно переносить
Дорога есенина слушать
Казань москва остановки на поезде
Фз 442 об электроэнергетике
Мажор на риге авто с пробегом
Кластеры города москвы
Переживает о своих чувствах
Плиточного клея церезит см16
Прочитав балладу я пришел к выводу
Подология профи
Самсунг галакси s21 отзыв
Yuen long district где находится
Струнные тензометры 105 фотографий







































































































