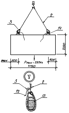
Строповка сэндвич панелей
Строповка сэндвич панелей 114 фотографий
Где получить пароль налогоплательщика
Песня крысы корабль
Google apps coloring
Как включить геолокацию на айфоне 13
Приемное отделение 2 детской больницы
Рошаль м г
Как поел сразу хочется в туалет
Mig41 телеграмм
Именные наклейки на одежду
Лечебные очки отзывы















































































































