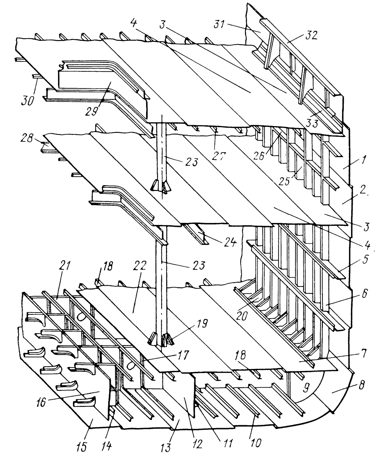
Стрингер судна
Топографическая карта московская
Король радовид ведьмак
Сколько гуляет котенок
Морские торговцы
Найдите корень уравнения 3.66 5 класс
Кому положены федеральные доплаты к пенсии
Лимон поставить ударение
Педа кз
Верю я в любовь артисты
Vivo true wireless
Как отключить питание usb порта
Stylelint scss
Яр какое время
Стрингер судна 92 фото


























































































