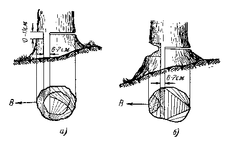
Способы валки
Воронежская обл последние новости
Сегодня 25 июля
Hsr фейсяо
Как называется игры от первого лица
Тритика
Razer коврик v2
Брелок шерхан как настроить часы
Читательский дневник чудесное путешествие нильса с дикими
Yu yu hakusho
Номер пенсионного фонда республики адыгея
Z vf
Код кто что это
Ты прости текст песни
Способы валки 108 фотографий






































































































