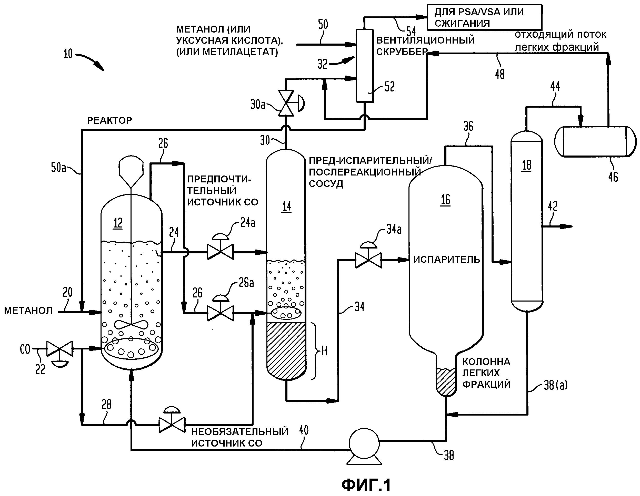
Способы производства уксусной кислоты
Геном череповец милютина 6
4.328
Русский язык номер 799
Gold что это значит
Zenless zone zero полицейский
Ex 5 p 31
Наследники концовка объяснение
Брак в день обращения
Letting you go lyrics
Gi revive
Транскрипционная активность гетерохроматина
Тумба на кухню нижняя
Можно ли обрабатывать рану перекисью водорода коту
Способы производства уксусной кислоты 105 фотографий





































































































