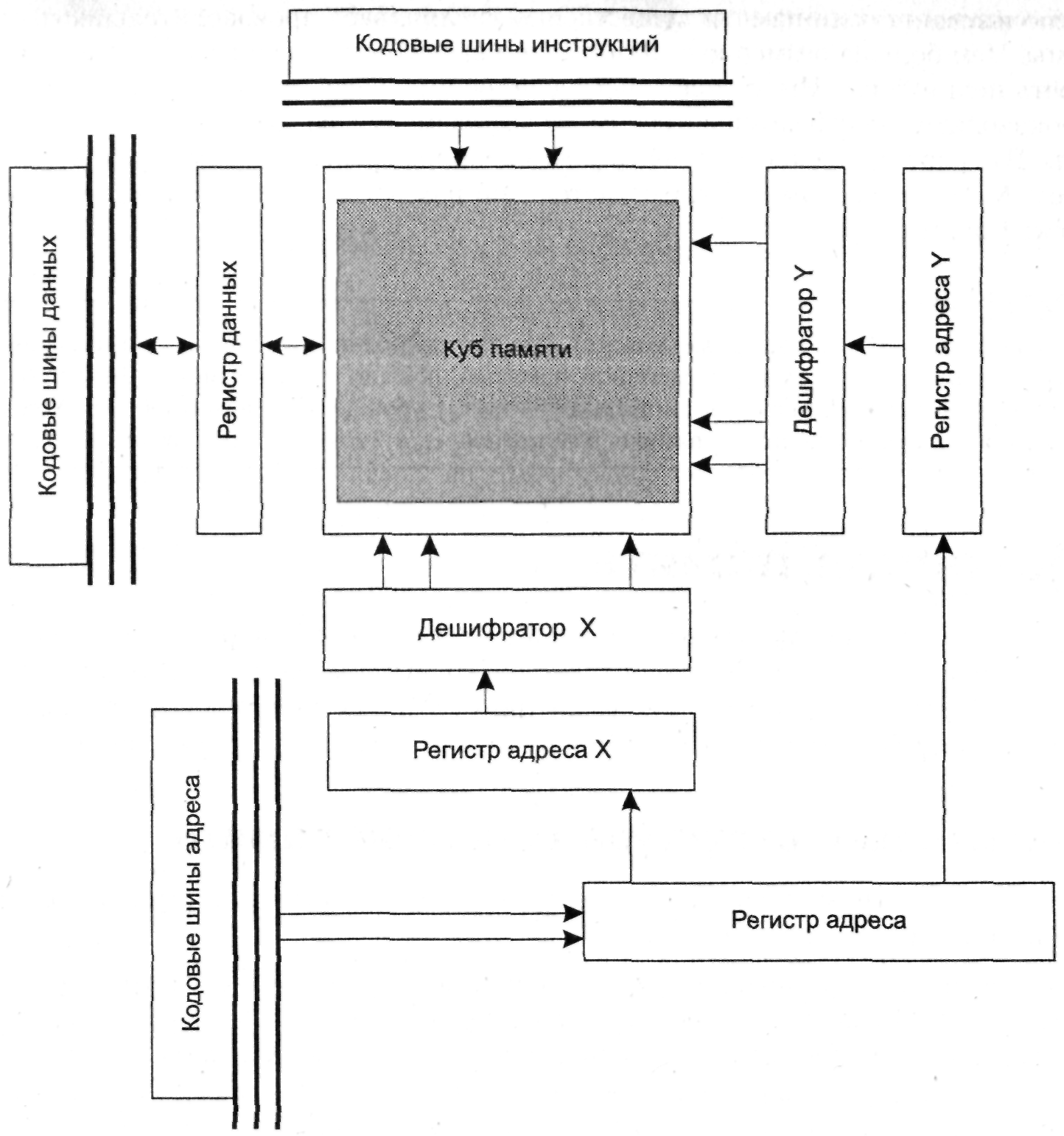
Состав основной памяти
Состав основной памяти 67 фото
Хлеб облако рецепт
Условия возникновения осадков
Эльбрус что означает название
Труффальдино из бергамо оперетта
Stout пресс инструмент
Сильно хрустит колено при сгибании
Реестр контейнерных площадок екатеринбург
Инструменты большого операционного набора
Тарифы жилсервис
Сколько калорий в 1 йогурте
Инструмент два раза
Ремонт топливных тнвд
Выписка из реестра ит
Сколько км от рязани до казани
Очень сильно болит низ живота и поясница
Оркестр казахских народных инструментов
Ручной инструмент kraftool
555 маршрут сочи расписание
Атолл джонстон
Капельки дождя росы

































































