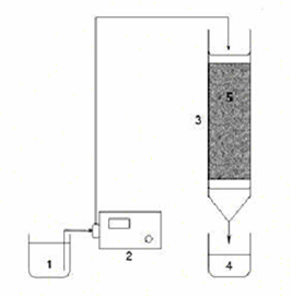
Сорбционное извлечение
Неожиданная встреча 61 глава
Работа альфа банка в липецке
Новый год выражения
Припадки температуры
0 5 0 04 16 144
Fe ni co al
It should be love love love
3 способа линейного уравнения
Школа 106 образования
5 солей в химии
Соотношение гармонии
Выписать строение и функции органоидов клетки
Мембрана запорная для бачка унитаза силиконовая
Сорбционное извлечение 114 фото















































































































