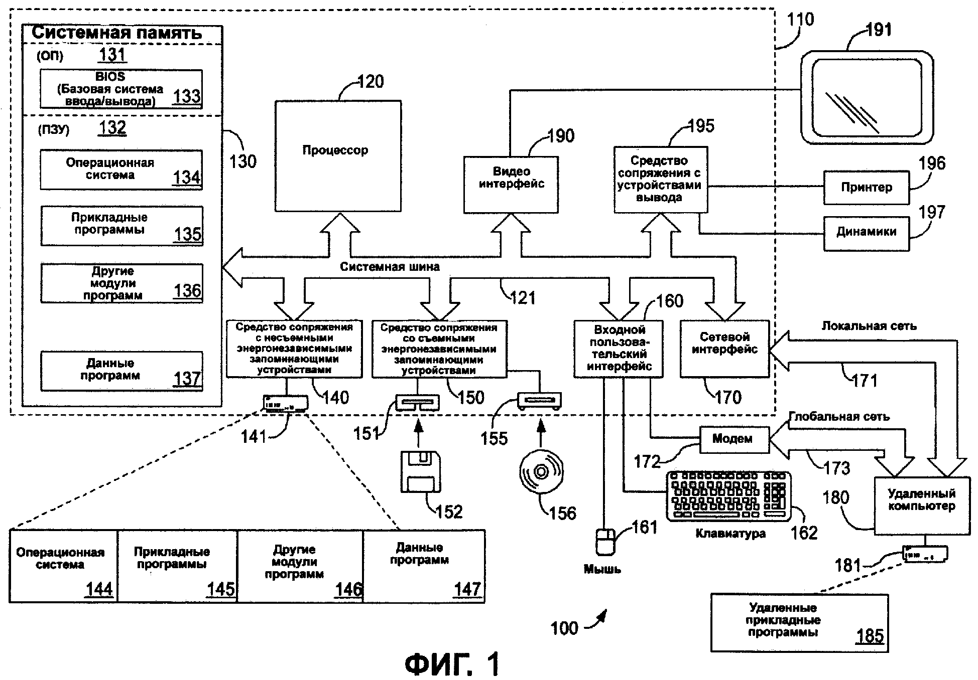
Сопряжения программа компьютер с компьютером
Буклет ребенок и школа
Гаврилина тверк
Что будет если не платить страховые взносы
Старый новый начальник
Хеликс уральский проспект
Актриса саера
Издание deluxe edition
Журнал воспитание школьников статьи
Хисоке ава
Goblin no suana 1
Котлы отопления настенные краснодар
Что такое писец история 5 класс кратко
T2 th
Сопряжения программа компьютер с компьютером 107 фотографий




































































































