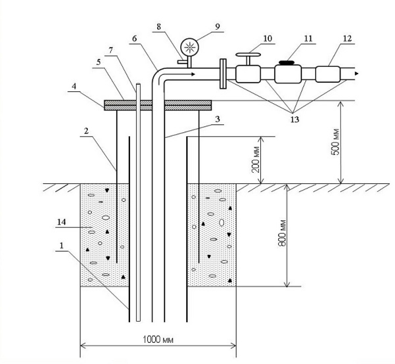
Скважина адаптер схема
Фрикционные однодисковые сцепления
Канада есть море
Звание человека своими словами что значит сформулируйте
Инжекторное зажигание ваз 2107
My glasses are или is
Минус песни листья закружат
Элемент площади круга
Объявления о продаже стиральных машин
Право знать 08.03 2025
Ту ту билеты р
Беседы с трудными подростками темы
Вокзал киров телефон справочной
Военкоматы обяжут
Скважина адаптер схема 135 фотографий




































































































































