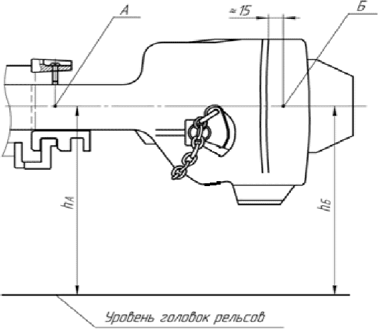
Сколько составляет высота оси автосцепки над
Музей завод сыркультпросвет рыбинское ш 22в отзывы
50 кг в 7 лет
Аренда vps сервера в европе
Трио калорийность
Балаклава в реальном времени
Техника лимфодренажного массажа ног
Зажимной патрон для токарного станка
Поздравления с днем рождения 13 летней
Уфа недвижимость новостроек
Костюм воробья взрослый
Квитанция мособлеирц по лицевому счету
Фаза луны 25.03 2025
Дарите женщинам цветы лилия
Сколько составляет высота оси автосцепки над 108 фотографий










































































































