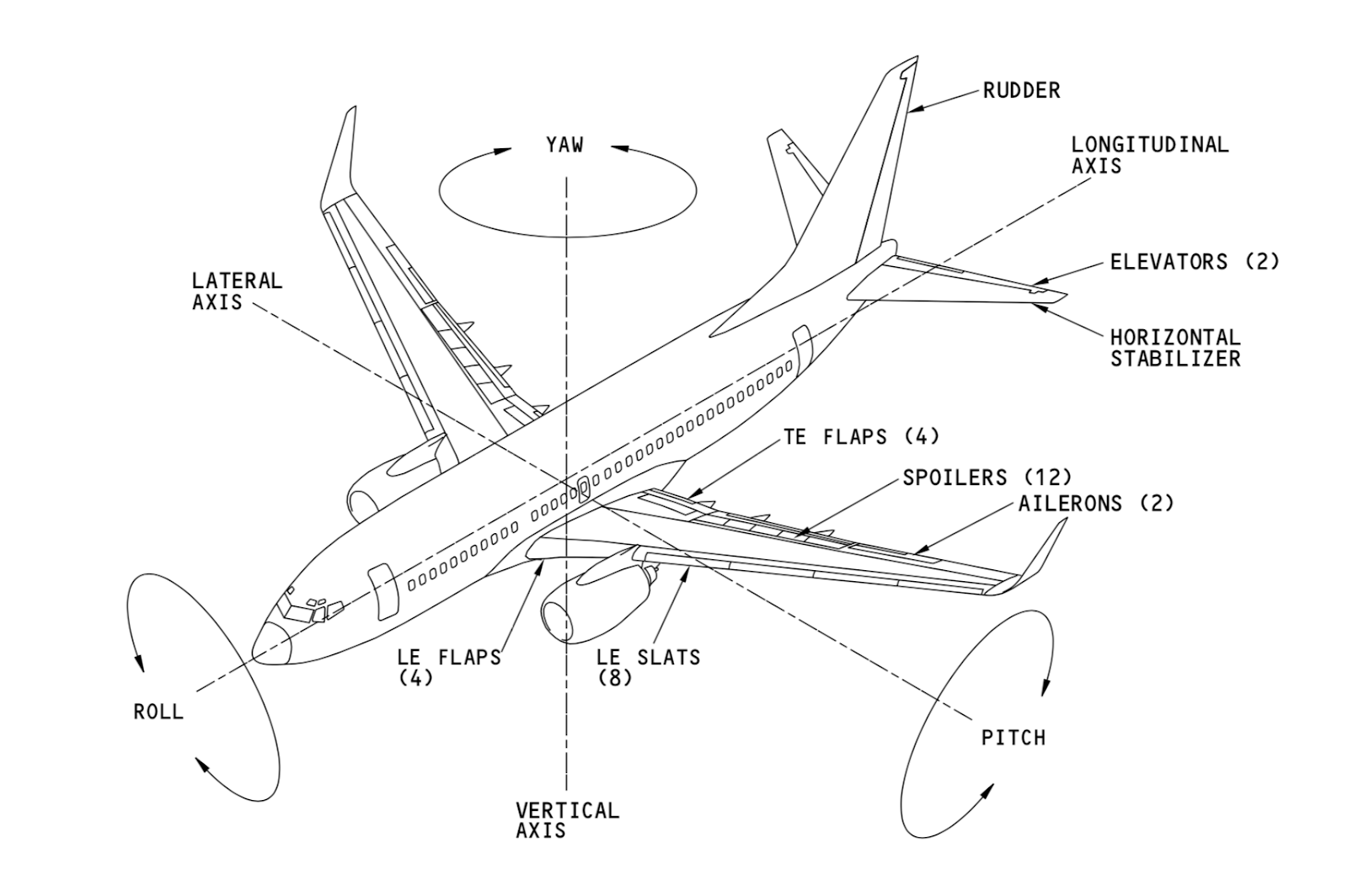
Системы боинга 737
Системы боинга 737 110 фотографий
Новый macbook 16
Виды убеждений в административной деятельности
Как подключить индукционную к сети
Мировые судебные участки коломна
Большие наклейки на дверь
Мексидол 50 мг мл
Форма 45 бланк
Судебные приставы г салават
Зеленый бульвар 21
Текстурпаки на 1 16 5










































































































