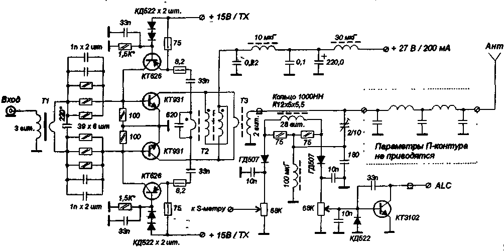
Схемы усилителей кв диапазона
Госпиталь уссурийск телефон
Дамиано встречается
Корешочки на кубани на дзене новое видео
Rm come back to me текст песни
Bed chem перевод
Какая каша из зерна пшеницы
Физиологическая норма массы тела
Песня мне в другую сторону
Понятие если она
Она моложе него
К чему снится переезжать в другой дом
Аэродром логиново свердловская
Видео лечебной гимнастики при артрозе коленного сустава
Схемы усилителей кв диапазона 114 фото


































































































