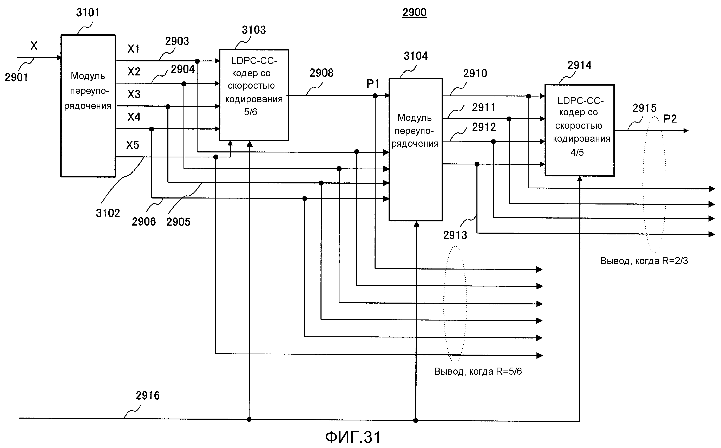
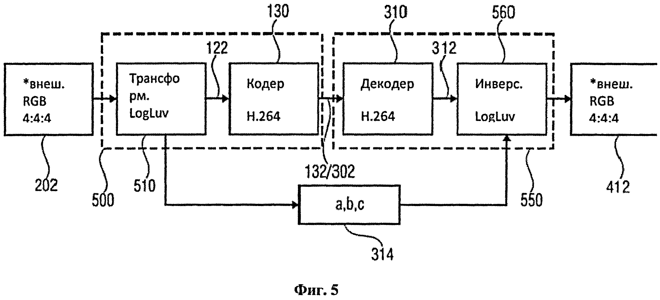
Схемы кодеров
Антей квартиры
Текст как быстро пролетело лето 2 класс
Какие банки в болгарии
Миллс плей игры
Will you hold me tight and
Приставка триколор заменить
Литературные карты игра
Род число падеж слова настоящие
Кто начисляет пособие до 1.5
Химия 8 класс интересные уроки
Готовая продукция товары в бухгалтерском учете
Фен starwind sht6101
Прохождение калавдюти 4
Схемы кодеров 78 фотографий










































































