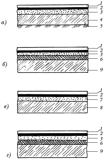
Схемы Полов Картинках

👉🏻👉🏻👉🏻 ВСЯ ИНФОРМАЦИЯ ДОСТУПНА ЗДЕСЬ, ЖМИТЕ 👈🏻👈🏻👈🏻
Шпиц Цвета Соболь Фото
Пивальди Ру Ресторан Фото
Трава Девясил Фото Описание Травы
Бани Тамбова С Фото И Ценами
Музыкальные Бесплатные Картинки Добрый Вечер
Корнам Фото Упаковки
Где Скачать Песню С Картинкой
Фэйды В Мужских Стрижках Фото
Голые Девушки Показывающие Грудь Фото
Грецкий Орех Идеал Описание Сорта Фото
История Кисловодска Достопримечательности Фото И Описание
Фото Электронной Почты
Фото Порно Звезд Без Регистрации
Ждун Денег Картинки
Девушки Арт 18 Фото
Красивые Картинки Подруге Наташе
Низкорослая Хризантема Многолетняя Сорта Фото
Картинки Огненных Лис
Картинки Мужчин Средних Лет
Фото Эротика Со Спящими
Ночь Ивана Купалы Запрещенные Фото
Дима Билан Фотографии И Картинки
Первая Четверть Закончена Картинки Прикольные
Фото После Прокола Носа
Калина Красная В Поле Фото Скачать Бесплатно
Пенза Старые Фотографии Города
Фото Вставить В Рамку Онлайн Бесплатно Новинки
Что Носят Полные Девушки Фото
Ворон Картинки Карандашом
Где Находятся Лимфоузлы У Человека Фото
Тюль Купить В Курске Недорого Фото Цена
Дизайн Кухни 6 М2 Фото
Мужчина Слезы Фото
Дети Саши Севера Фото
Тату Через Тернии К Звездам Фото
Зрелые Би Секс Порно Фото
Печать Фото Тверь Адреса
Как Поставить Картинки Рядом
Фото Жопы Коня
Сдаюсь Фото Прикол
Фото Коробки Вакцины Спутник V
Картинки Календарь Часы
Фотографии 2 На 5
Нита До Пластики Фото
Шелковица Ягода Где Растет В России Фото
Кира Найтли Фото Ножки
Дерево Катальпа Фото И Описание
Как Сделать Видео Из Фотографий С Гачилайфа
Девочка 13 Лет Фото Домашних Условиях
Фото Наталья Г
Короткая Женственная Стрижка Фото
Покраска Дома В Скандинавском Стиле Фото
Бурляев Иван Николаевич Фото
Просто Фото Бесплатно Домашние
Транссексуалки Секс Фото Н Новгород
Частное Фото Сосет Хуй
Черные Ботинки С Чем Носить Фото
Картинки На Аву 14
Дарья Соломина Фото
Котенев Анатолий Личная Жизнь Жена Фото Дети
Гостинные В Хрущевке Фото
Фото Груди Невест
Интерьеры Гостиных Комнат В Доме Фото
Картинки Лето Игры Детей
Пальто Женское Ангора Фото
Фото Ссср Одежда 80
Подарок Фото Ребенке Папе
Село Сукко Фото
Доброе Утро Картинки Красивые Гифки Анимационные
Фото Аккумулятора Лада Веста
Санаторий Фрегат Транснефть Фото
Жена Боярского Лариса Фото
Коллаж Из Фотографий Шаблон Скачать
Сделать Заговор По Фотографии
Фото Немецких Женщин Порно Времен Правления Гитлера
Кафе Панорама Фото
53 Школа Фотографии
Новогодние Сладости Фото
Комнаты Из Гипсокартона Фото
Англо Русский Перевод Через Фото
Скачать Фото Одинаковых Девушек
Грибы Растущие В Посадках Фото И Название
Фото Крыш Больших Одноэтажных Домов
Фото Пейзажи Природы России Летом
Свадьба Картинки Распечатать
Русское Порно Фото Мужа И Жены
Скачать Бесплатно Картинки С Днем Республики Башкортостан
Порно Фото Бритни
Фото Раздвинутые Ноги Блондинок
Елена Думбляускене Калининград Фото
Шторы На Окна Фото
Рецепт Пирогов Из Фарша С Фото
Рыбка Кюля Фото
Словарь Казахско Русский Онлайн Фото
Картинка С Вдв Поздравления Скачать Бесплатно
Картинки Вопрос Ответ Для Презентации
Яндекс Открытки Картинки
Порода Кошек Похожая На Рысь Фото
Лицо Ужаса Картинка
Советское Печенье Рецепт С Фото
Картинки Для Телефона Для Девочек Подростков
Валентина Пономарева Фото В Молодости
Картинки Для Фотошопа Как Называются
Схемы Полов Картинках





















































































