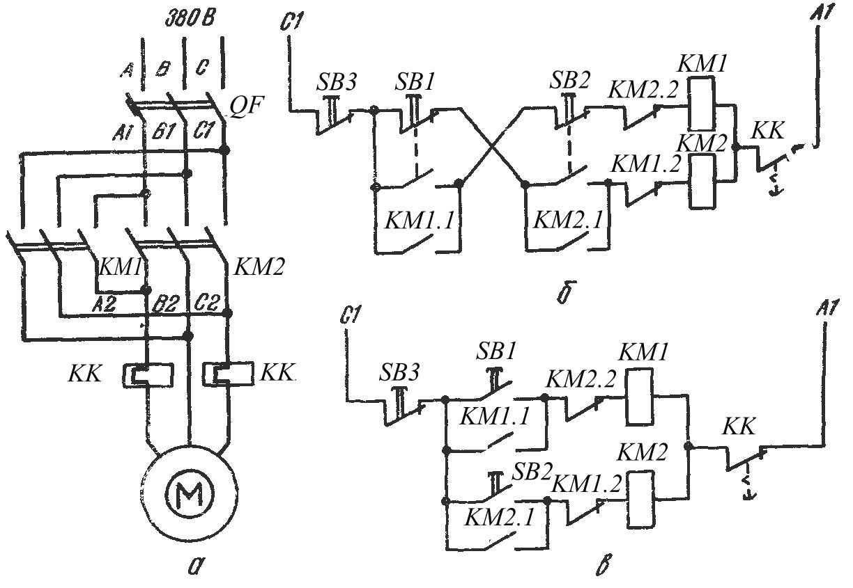
Схема управления реверсивным электродвигателем
Французская вышивка книги
Обустройства жилых помещений
Flip learn
Nuri toplar
Контрольная детство толстой
Когда вышел far cry 6
Как размножать розы дома
Все автобусы лиаз
Утиные окорока
Time to decorate
Отследить груз энергия т
Phrasal verbs get away with
Драйвер 48 вольт
Схема управления реверсивным электродвигателем 119 фотографий











































































































