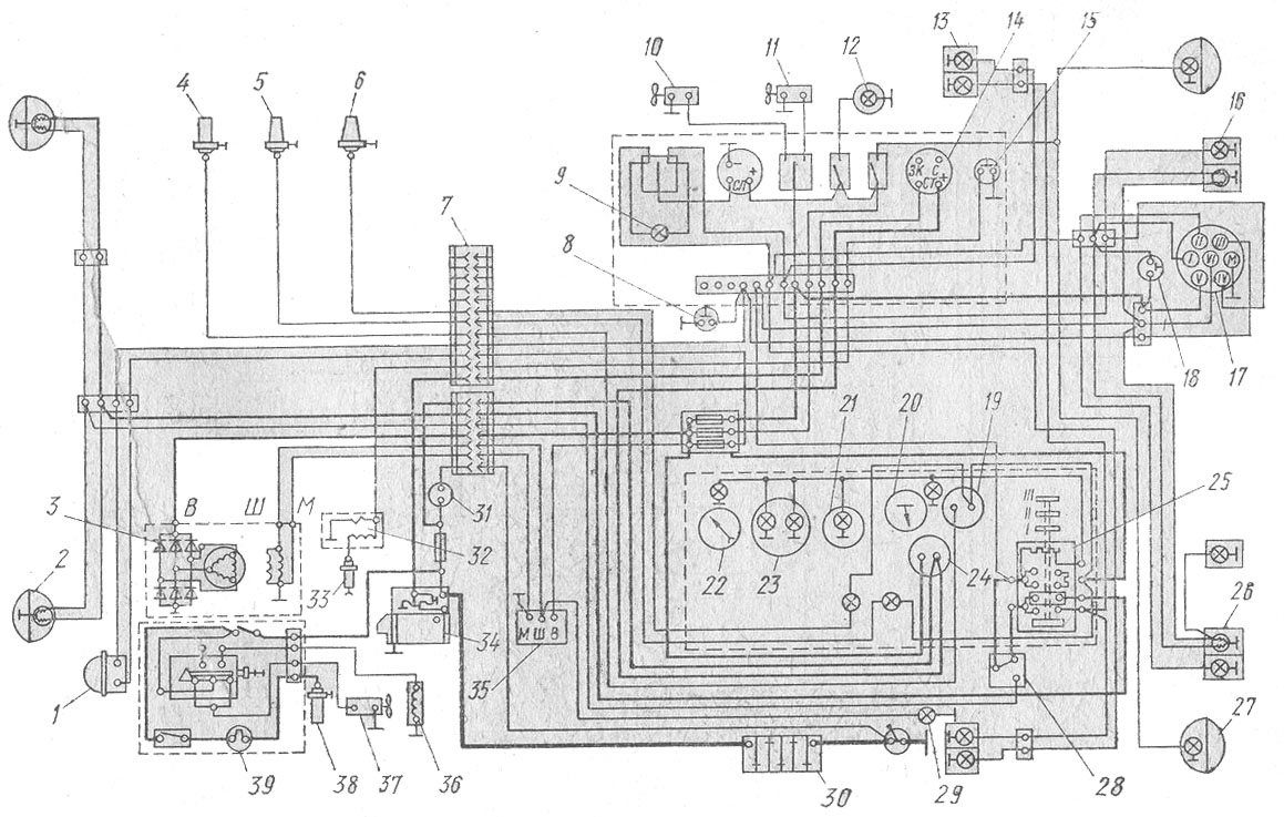
Схема трактора т 16
Видео визитка советника
Схема вышивки елочной игрушки
Токийские мстители слова
Дом 2 27 июня 2026 новая жизнь
211 упражнение по русскому 9 класс
Гжельский институт
Как поменять стс
Опора двигателя rosteco
Сняла топик 18
Logitech x2 lightspeed
Презентация день рождения детского сада
Минеральные вещества содержат много
Карта руссы новгородской
Схема трактора т 16 134 фото




















































































































