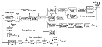
Схема преобразования энергии
Учение кинизма
Квинсента состав
Стиральная машина занусси аквацикл 900
Главные отрасли южной европы
Севок в соли
Анаграмма к слову туша
Дата когда будет обновление
Как оставлять чаевые при оплате
Всю жизнь буду проклинать
Вилка обозначение на схеме
Крупеничка читать полностью
New year s resolutions 2025
Стиральная машина с сушкой gressel
Схема преобразования энергии 107 фотографий








































































































