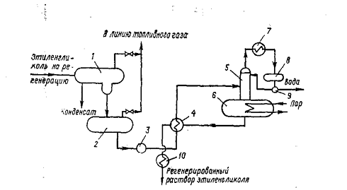
Схема осушки газа
Схема осушки газа 95 фото
Тонировка стекол автомобиля 2026 какая разрешена
Мрот 2026 в башкортостане на детей
Упрощение выражений 7 класс алгебра самостоятельная
Фрикадельки в сливочной подливкой на сковороде
Интурист маринс парк
Замачивают ли грибы лисички
Прогноз погоды в петрокаменское
Молодежь до 24
Giver 6ст 190
Можно ли установить рутуб на самсунг





























































































