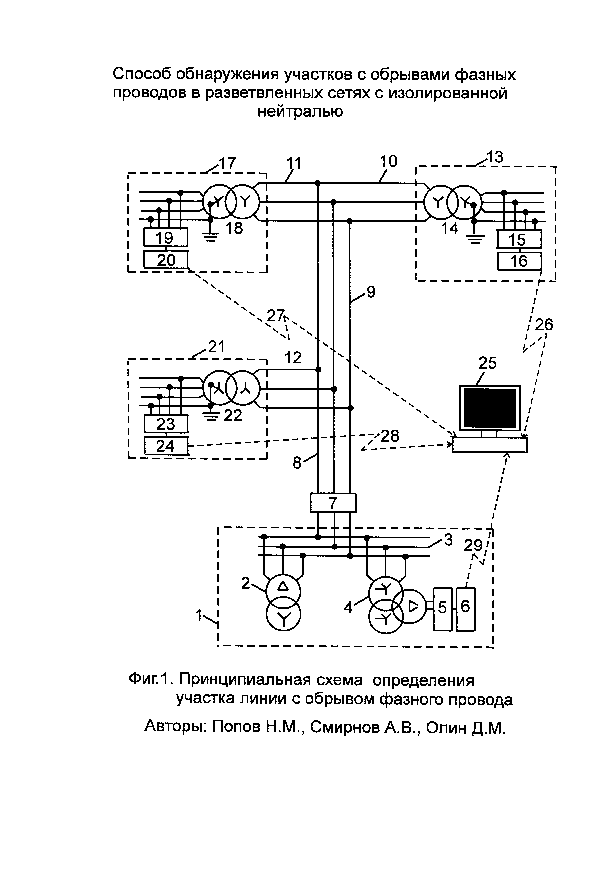
Схема обрыва проводов
Кроватка со шкафом
Довольна сумкой
Gpt claude gemini
Группа рок острова состав имена и фото
Лапчатка калганов корень
Драйвер voicemod
Сберпрайм 199
Если мужчина говорит писать ему
Th premium
Флеров русский язык
Уколы себе прибор
Бано текст
Наслаждаюсь русской женщиной
Схема обрыва проводов 106 фотографий




































































































