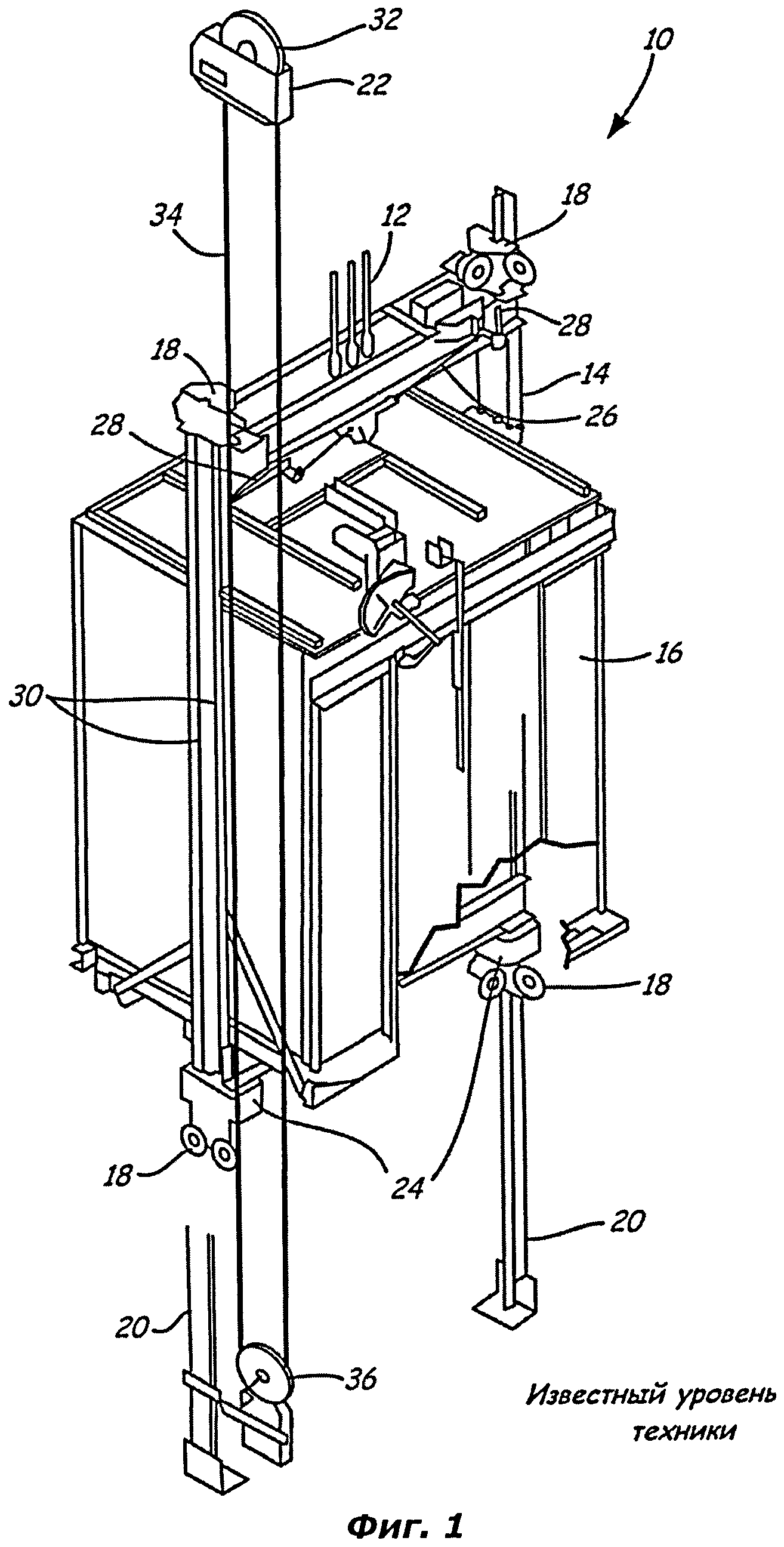
Схема кабина лифта
Задернув лик усталый свой что означает
Ул олега дундича
Пластиковые окна на балкон москва
Уважаемые родители 1 сентября приходим
Синтез аминоацил трнк
Психические явления их классификация
Цветы с белыми цветами как колокольчики
Установка китайского вебасто
Взлома hills of steel много кристаллов
Вес конфеты ротфронт
Itunes 12.6 3.6
Датчик давления служит для
Медосмотр в школе 4 класс
Схема кабина лифта 142 фотографий

































































































































