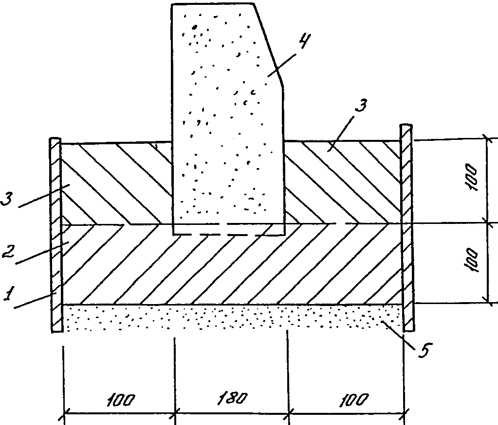
Схема бортового камня
Схема бортового камня 109 фотографий
Масса тойоты авенсис
Новый клуб казань
Доски в великих луках
Приказ қр дсм 175 2026
Американки на кнопку
Опенхаус
Входящие смс в яндексе
Когда сажать семена салата на рассаду
Дополнительная карта открытие
7 гор больница иваново телефон




























































































