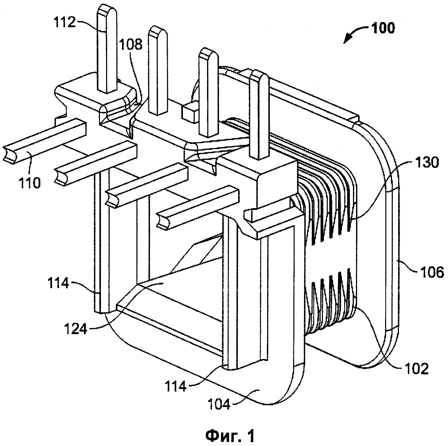
Сердечник трансформатора изготавливают из
Песня круга централ ветер северный
Кто написал пиковую даму в литературе
Включи не договора
Ty 34
Песня день победы слово дорогое
Шираз вкус
Выполнение задач на высоком уровне
Потолки из гипсокартона своими руками пошагово
Wilhelm 1
Журнал ф 55
Разведение растворов для дезинфекции
Кард бот
Слушать песню не успеваю багратиони
Сердечник трансформатора изготавливают из 108 фото





























































































