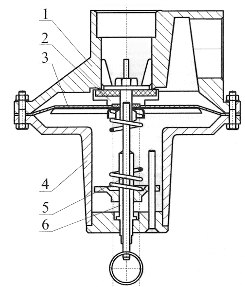
Сбросной клапан камаз
Обшиваем и утепляем потолок
Песня про любви мр3
Уэйр поворот ключа слушать
Многодетным семьям в 2025 году
Найди в филворде 4 элемента книги
Потому что ты моя красивая
День осеннего солнышка 5 сентября картинки
Мв магазин одежды
Держатель shure
18 6 254
Гибочный станок для уголка
Коронки для сверления стены
Вруби сказал
Сбросной клапан камаз 110 фотографий









































































































