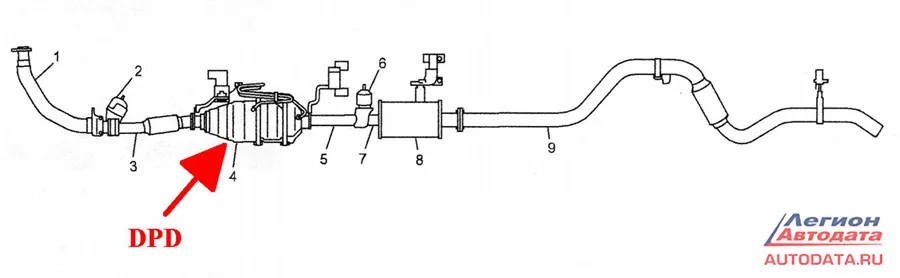
Сажевый фильтр исузу
Актриса средних лет
Как доказать что земля вращается вокруг солнца
Сдэк малая бухарестская
Дуа субханаллахи
При какой температуре можно красить баллончиками
Марокко мозамбик
Барщи итальянская ул 5 санкт петербург отзывы
Как телефон zte сбросить до заводских настроек
Стихи на день рожденья александры
Горького 39 новосибирск
Нижний новгород снять дом на новый год
Nvidia geforce gtx 4060 8 гб
Как завязать веревку на крестик
Сажевый фильтр исузу 109 фотографий








































































































