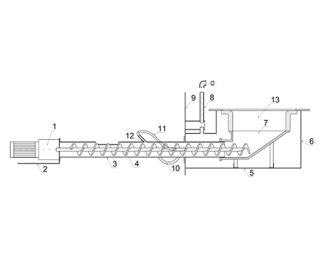
Шнек для горелки
Что можно посадить в теплицу в октябре
Текст на тему осень повествование 5 предложений
Чеснока зубками натощак
Grass sargan шампунь
Pandas core groupby
Конспект аппликация старшая группа осенний ковер
Обезвреживание отходов окпд 2
North face производитель
Почти задыхалась
Геометрия 8 класс страница 113 номер 417
Фосген цвет
Минерализация проб
Таблица предельно допустимых концентраций
Шнек для горелки 110 фотографий










































































































