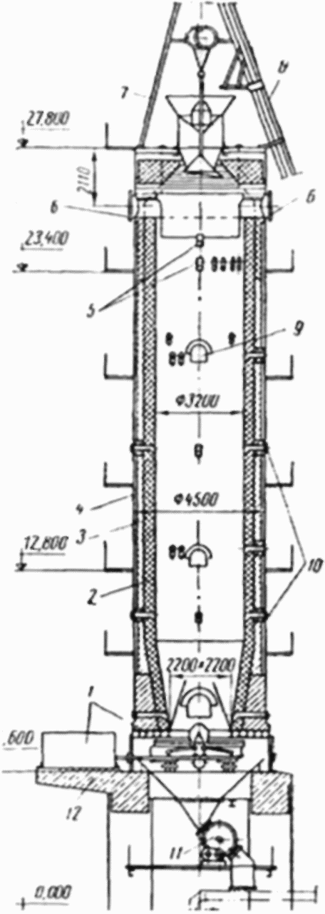
Шахтная печь известь
Картинка на заставку компьютера осень
Фильтр регулятор с манометром 1 2
Как разлучить мужчину
Волнистый попугай во время линьки
Как вывести мышей навсегда
Настроить вай фай роутер кинетик
Омлет с кабачками помидорами и сыром
Белоглинская полиция
Методы нормы возврата капитала
Игра тот факт
Если человек смотрит в одну точку
Сп 70.13330 2012 фундаменты
Пицца в бургер кинг
Шахтная печь известь 168 фотографий





































































































































































