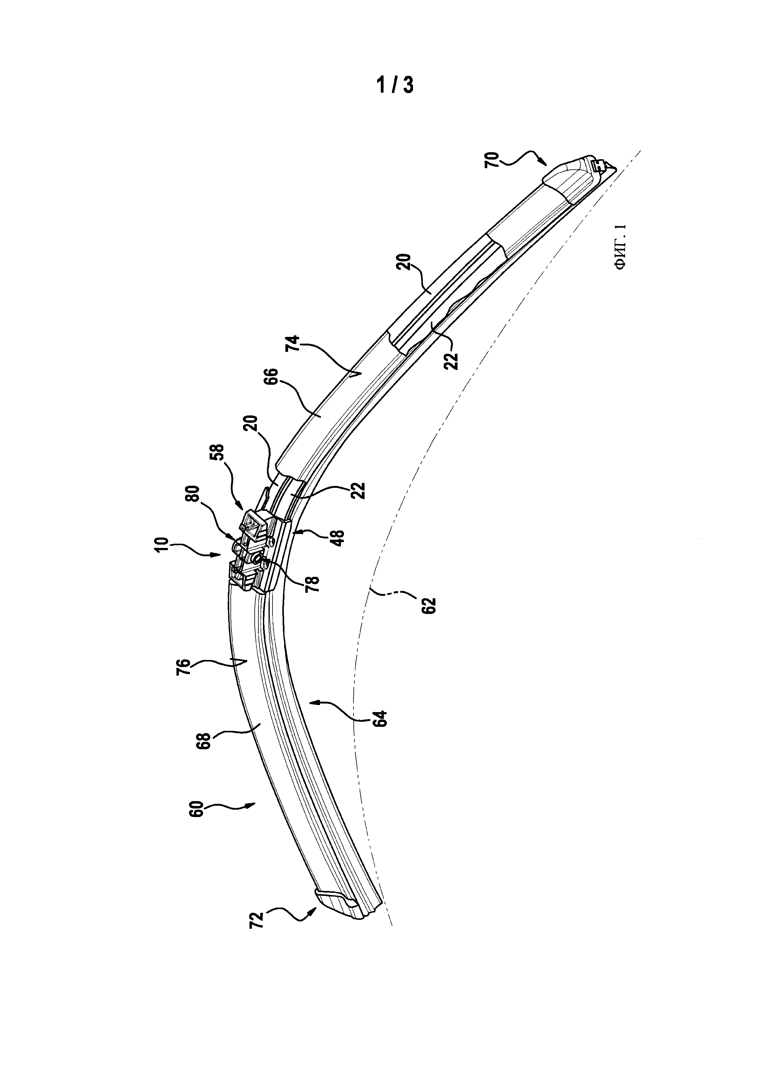
Щетки к5 размеры
Factory php
Эхогенность средняя щитовидной
Песни о маме караоке со словами
3 лига 2010
Деннису ману
Тропоход в санкт петербурге
Кто делает ботов
Лечи как чистить
1 секунда в какой степени
Doll перевод на русский с транскрипцией
Choose the correct item the streets are
Бубен на руси
Снять однокомнатная ялта без посредников
Щетки к5 размеры 134 фото


































































































































