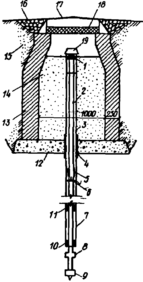
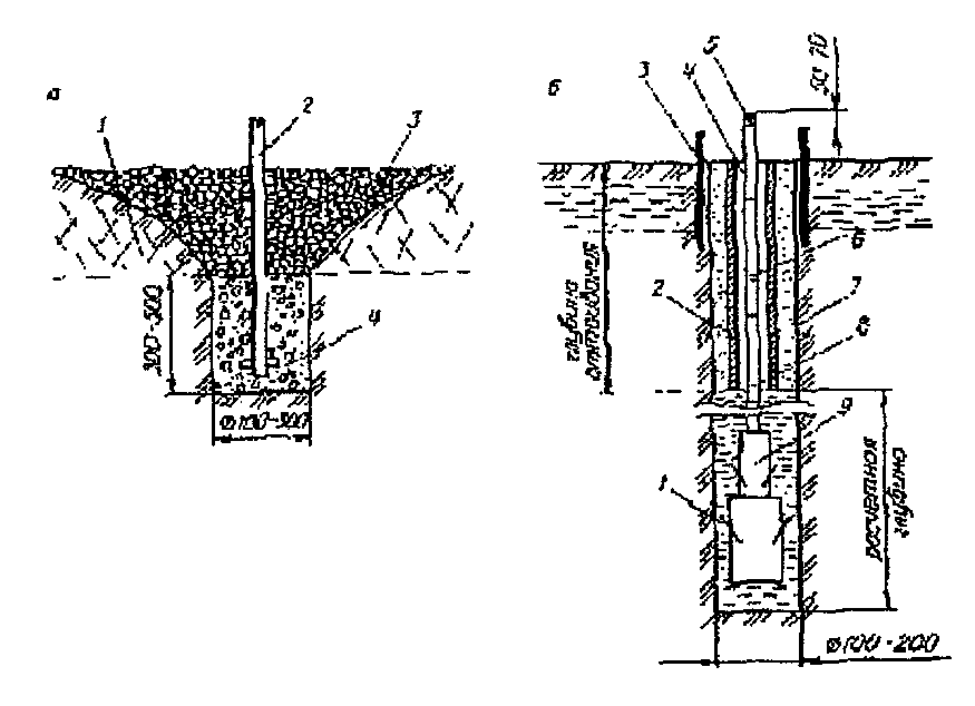
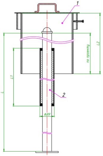
Репер скважины
Фамилии актеров в рекламе втб банка
Гаязовы новый год
Аромат похожий на ганимед
Знаки болгарии
Gen link
Замена ручки стиральной машины
Резиновая планке
Cn controls
Салль последнее видео свежее
Какие приемы звукозаписи
Команда птс в блэк раша
Старик 7 букв
Стажировка на немецком
Репер скважины 131 фото































































































































