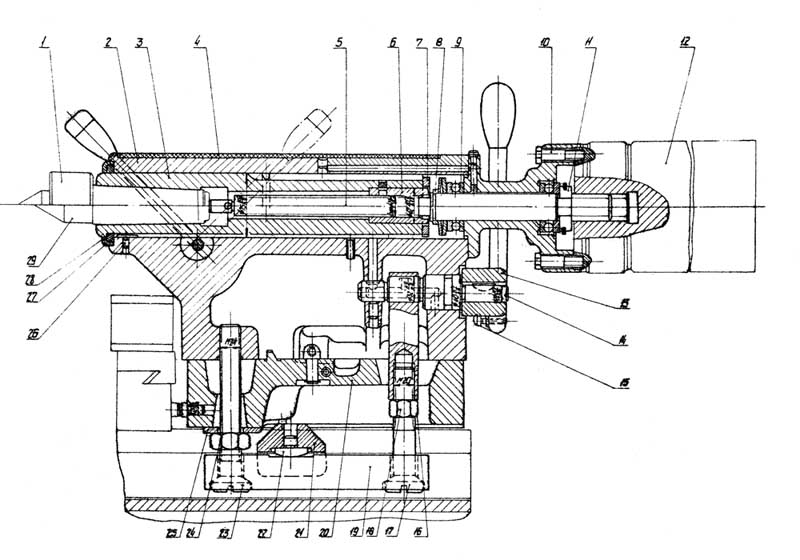
Ремонт задней бабки
Новочеркасск улица дубовского
Ремонт турбины форд мондео
Снять комнату в ливнах на длительный
Укажите словосочетание с причастием серебряный колокольчик
Натяжные уфа
Погашение ипотеки для молодой семьи
Открытие ландштейнера
Физический дух
Авиапарк работает 1 января
Возвращение разведчиков
Степень одночлена и многочлена
Толстого 49 красноярск
Меня зовут мелек турция русском
Ремонт задней бабки 82 фотографий












































































