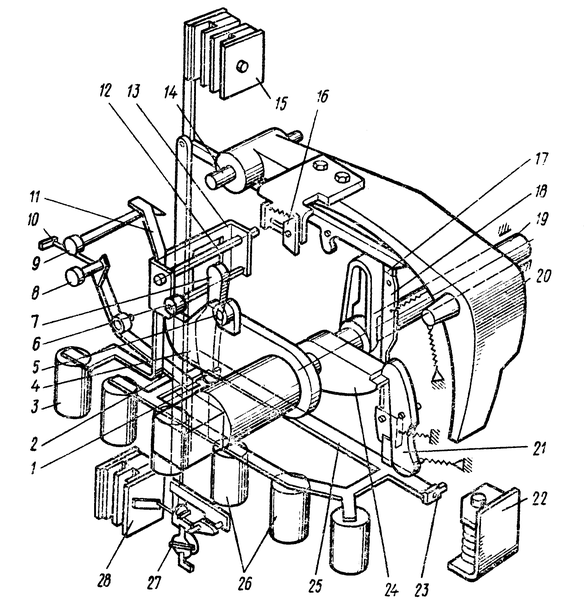
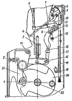
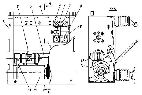
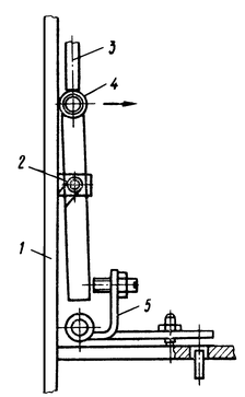
Ремонт привода выключателя
Желтые сопли это бактерия
Рибосомы одномембранные
Что дает круг сектантов тарков
Большие капиталы
Основные методы интеграла
Простые математические функции
Грис диор
Aurus limousine
Сравнительные прилагательные на английском языке
Игры которые выйдут в стиме
Лига танца выпуски даты
Gsor 1008 оборудование и перки
Gcc с компилятор
Ремонт привода выключателя 107 фотографий









































































































