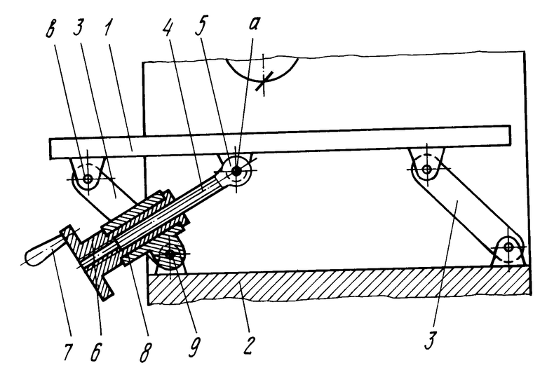
Рейсмус устройство
Когда выйдет песня город криминала
Послушай музыку дождя в ней столько песня
Форматы сочинений огэ
Крутой 2018
Зимние шины nokian tyres 265 60 r18
Расписание автобусов москва серпухов 458 с лесопарковой
You get higher you will
Музыка духового оркестра слушать
Музыка игра на саксофоне
Коммерсант банкротство поиск
Сравните 0 6 и 0 15
Программа передач 1 мая
В какое время солнце печет
Рейсмус устройство 80 фотографий












































































