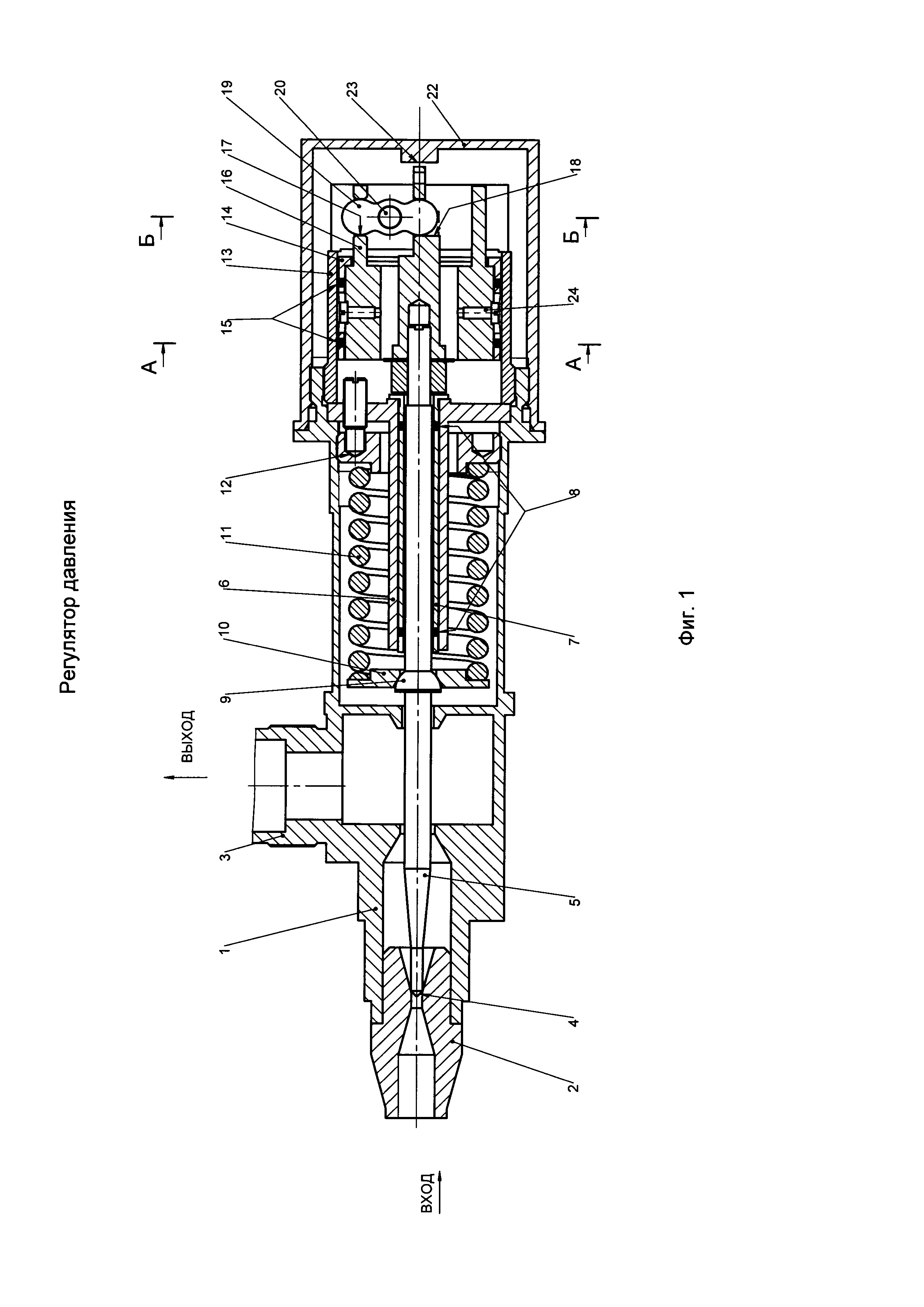
Регулятор статического давления
Как подвязывать огурцы на грядке видео
Подключаем тумблер 3 контакта
Участники хозяйственного товарищества полное
Mature mom sister
Ст 7 о противодействии легализации
Показать где можно поиграть
Боженова
Предохранители гелик
Айфон про 12 разница 11 про
Дамы ищут молодых
Калькулятор привести дроби к наименьшему знаменателю
Овен плк 110 60
Мораторий на иски
Регулятор статического давления 102 фото




































































































