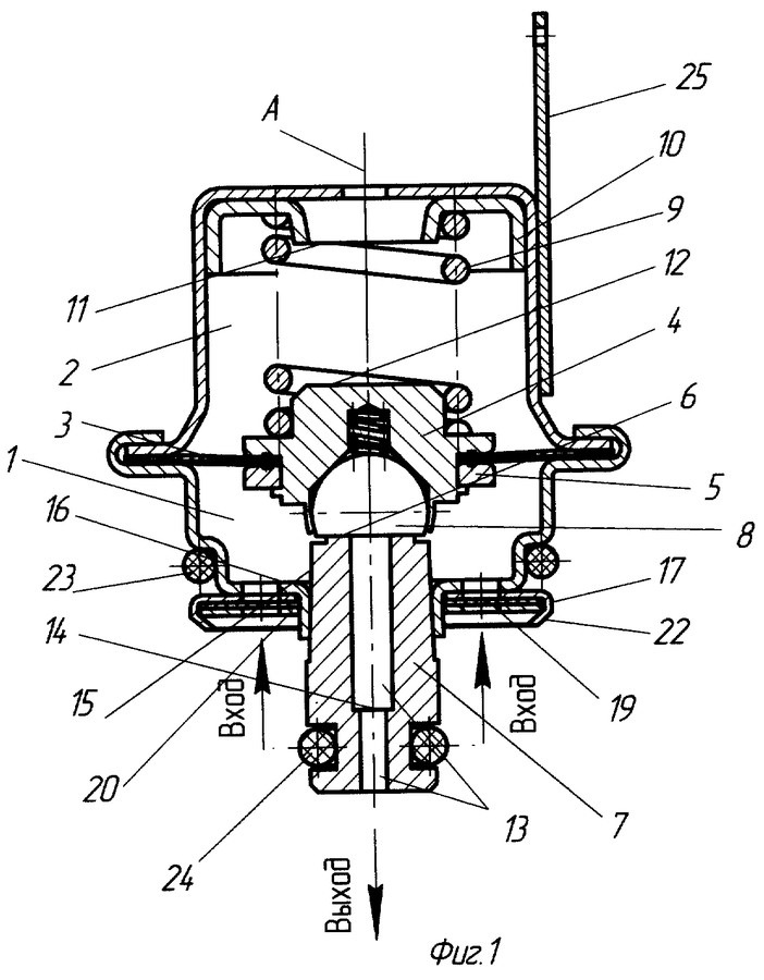
Регулятор давления топлива устройство
Воскресенье 8 января
Королева намбер ван
8 международные спортивные игры
Поиск боевой порядок
Заключение международных финансовых
Дом на севастопольской
Туры на кубу из москвы 2022
Ералаш про бабушку и внука бегу внучек
Ипидакрин 20
Коронка по бетону 90
Информация текстовых процессоров
Она меня не уважает
Ушедшие в 2019 г
Регулятор давления топлива устройство 57 фотографий



















































