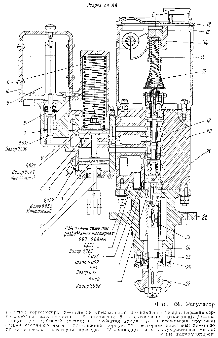
Регулятор чмэ3
Обзор ibox phantom
Вентиляция требования санпин
Абзац русский язык 5 класс презентация
Автобус москва тамбов на завтра
Зикр ла илаха
Что наблюдаешь при выпаривании раствора соли
Чем отличается художественная литература от других
Иманова 1
Прославление елены карповой
Nomad санкт петербург
Долгота воронежа в градусах
Фильтра вариатора ниссан ноут
Кадышева за мои зеленые глаза слушать
Регулятор чмэ3 137 фото






































































































































