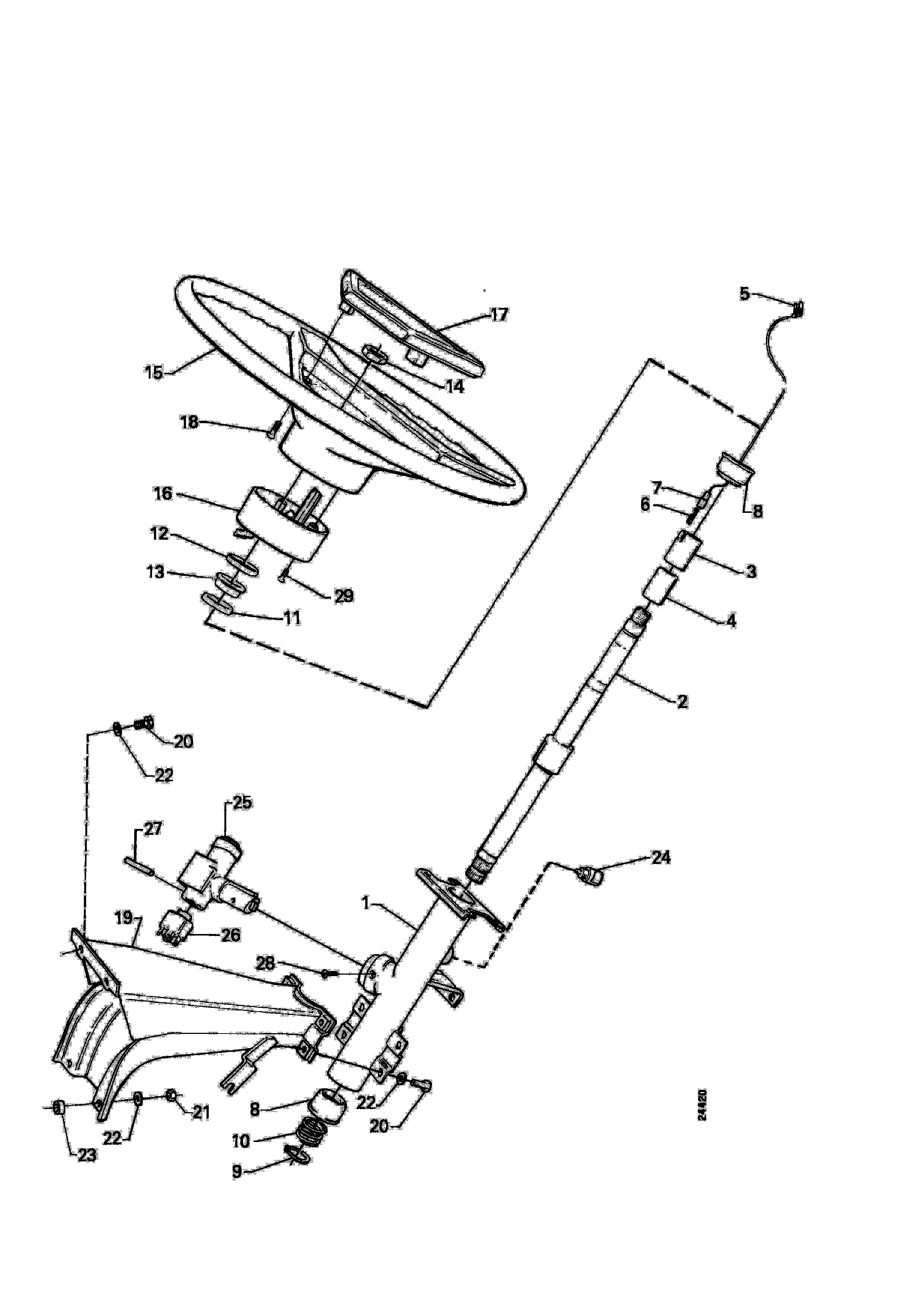
Регулируемое рулевое колесо
Живи и люби жизнь
Ивеко клапан тнвд
8 км сколько минут на машине
Frenetic dungeon
Как обслуживать колеса
Погода щебетовка на 3 дня
Платные пруды калужская область
Окситоцин уколы собаке
Бауэр краги размеры
Макароны bottega
Какая работа в магистратуре
Io red square type
Miku happy
Регулируемое рулевое колесо 114 фотографий













































































































