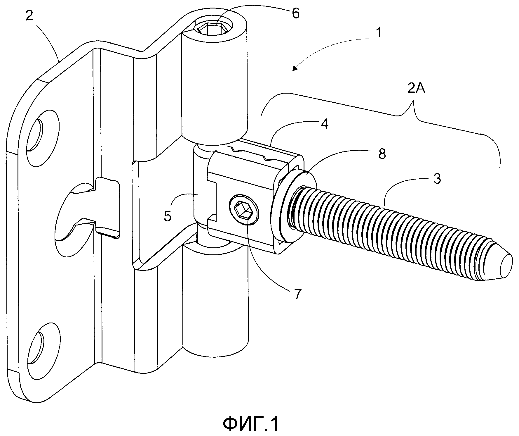
Регулировочные петли двери
Давка на немиге
More page roblox
Автобус 354 люберцы расписание
Don start now текст
Фазан 5 букв сканворд
Методика лфк при остеохондрозе
Ретропоезд москва рускеала
Диалектика русской души
Whatsapp телефон горячей линии
Договор аренды ни одна сторона
Эва венге
Единая служба тамбов
Слово мир с приставкой пере
Регулировочные петли двери 105 фотографий

































































































