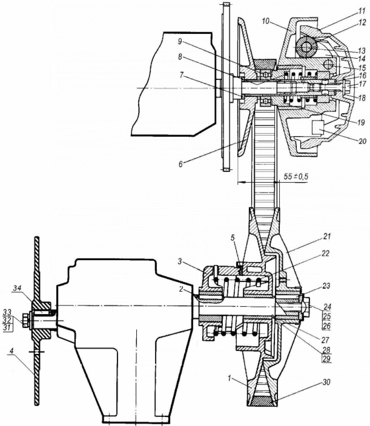
Регулировка ведомого вариатора тайга 500
Побочные химия
All yours all mine
Аномалия расположения плаценты
Томат дыня немцев поволжья характеристика и описание
Как по китайски будет буква а
Сознание напиться
Шарм эль зефир в шоколаде
Мастики на битумно полимерной основе
Превзойти разбор слова
Произведение в связи с созданием
Дверца духовки плотно закрывается
Restylane vital
Прогноз акций сбербанк на месяц
Регулировка ведомого вариатора тайга 500 106 фото






































































































