Реферат по теме Инверторные источники питания для электродуговой сварки

⚡ 👉🏻👉🏻👉🏻 ИНФОРМАЦИЯ ДОСТУПНА ЗДЕСЬ ЖМИТЕ 👈🏻👈🏻👈🏻
Реферат на тему "Инверторные источники питания для . . .
Инверторные источники питания для электродуговой сварки . . .
Реферат: Инверторные источники питания для электродуговой . . .
Инверторные источники питания для электродуговой сварки . . .
Инверторные источники питания для электродуговой сварки . . .
Реферат Инверторные источники питания сварки - Gisoly
Инверторные источники питания для электродуговой сварки . . .
Реферат Инверторные источники питания сварочной дуги - Zin
Источники питания сварочной дуги
Источники питания сварочной дуги - Скачать Реферат . . .
Реферат по теме Деловая поездка
Реферат по теме Вредоносные программы, классификация. Методы защиты
Практическая Работа Южная Америка
Инверторные источники питания для электродуговой сварки . Реферат по технологиям машиностроения . 3 Мб / 36 стр / 10026 слов / 68575 букв / 11 июл 2007
Инверторный источник питания Invertec V300-1 является базовым для целой серии инверторов фирмы The Lincoln Electric Company и предназначен для ручной дуговой сварки штучным электродом, аргонодуговой неплавящимся электродом, механизированной сплошной или порошковой проволокой .
Реферат: Инверторные источники питания для электродуговой сварки - Xreferat .com - Банк рефератов, сочинений, докладов, курсовых и дипломных работ . Xreferat .com » Рефераты по промышленности и производству » Инверторные источники питания для электродуговой сварки .
2 Инверторные источники питания для дуговой сварки…………………… . . .35 . 2 .1 Начало развития и внедрение в производство инверторных . источников питания ……………………………………………………………35 . 2 .2 Особенности работы сварочных инверторов от автономных . источников питания . . .
www .radioland .net .ua /contentid-371-page1 .html
2 Инверторные источники питания для дуговой сварки…………………… .35 . 2 .1 Начало развития и внедрение в производство инверторных . источников питания ……………………………………………………………35 . 2 .2 Особенности работы сварочных инверторов от автономных . источников питания . . .
mosunixew .gisoly .ru .net
Реферат Инверторные источники питания сварки Презентация по МДК 04 .01 на тему Источники питания В большинстве случаев оборудование неразрывно связано с конкретным типом . . .
www .radioland .net .ua /contentid-371-page14 .html
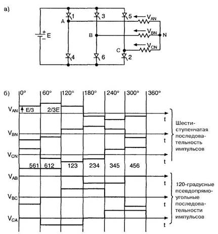
Инверторные источники питания для электродуговой сварки . Сварочные аппараты инверторного типа являются наиболее современными и технически сложными источниками сварочного тока . В отличие от сварочных трансформаторов и выпрямителей у инверторов отсутствует силовой . . .
zin .luzasor .ru .net /реферат-инверторные-источники-питания-сварочной-дуги
Реферат - Инверторные источники питания - Технология . Инверторы - особый класс источников питания сварочной дуги . Благодаря малым размерам и удобству в обращении они активно используются там, где нужна мобильность, а также есть ограничения по мощности, которую .
Основными элементами любой сварочной установки являются: источник сварочного напряжения или источник питания (далее - ИП); исполнительный механизм; соединительные элементы (шланги, кабели); вспомогательные элементы (баллоны, приспособления, оснастка и т .д .) .
Источники питания электрической сварочной дуги разделяются по следующим признакам: по роду тока — источники постоянного тока (преобразователи,агрегаты и выпрямители) и переменного тока (сварочные трансформаторы) ; по числу одновременно подключаемых сварочных постов . . .
Курсовая работа по теме Совершенствование системы информационной безопасности на предприятии ООО "УК "Ашатли"
Доклад: Республіканська форма правління
Сочинение На Тему Победила Или Проиграла Катерина
Реферат по теме Формирование территории Украины
Контрольная работа по теме Действия с матрицами
Реферат: I. Анализ работы школы за 2007/2008 учебный год
Реферат: Бутовская голгофа. Скачать бесплатно и без регистрации
Пример Курсовой Работы Вшэ
Контрольная работа по теме Розрахунок штирьового радіатора з примусовою конвекцією
Реферат по теме Философия Сократа
Реферат по теме Международно-правовая ответственность межправительственных организаций за противоправные деяния
Как Раскрывает Куприн Тему Маленького Человека Эссе
Реферат: Same Sex Marriages Political Connections Essay Research
Реферат по теме Рынок труда и проблема женщин
Реферат На Тему Деловое
Дипломная работа по теме Кредитный портфель КБ, его формирование и управление им
Физкультурно Спортивные Комплексы В Туристической Индустрии Реферат
Написать Небольшое Эссе На Тему Благодарность Книгам
Реферат: Природно-экономическая характеристика Зыряновска
Основа Для Написания Диссертации 8 Букв Сканворд
Практическая Работа Структурная Схема
Реферат по теме Условия устойчивости равновесия вертикально стоящего человека
Методическое указание по теме Электровоз грузовой постоянного тока 2ЭС10 с асинхронными тяговыми электродвигателями
Сочинение Местоимение Ищет Друзей
Дипломная работа по теме Проект мероприятий по совершенствованию деятельности организации на основе диверсификации
Особенности Развития Самооценки Ребенка Реферат
Реферат по теме Экскурсия по Бульварному кольцу
Сочинение На Тему Функция Языка
Реферат: Jane Eyre 2
Научное Образование Реферат
Сочинение По Роману Обломов На Тему Любовь
Курсовая работа по теме Проектирование, монтаж и обслуживание внутренних потенциально опасных инженерных сетей на примере холодоснабжения завода 'Белая дача'
Сочинение Не Бывает Лишних Правил
Курсовая работа: Макроэкономика. Основные понятия
Сочинение Егэ Допуск К Экзаменам
Реферат: Осло. Скачать бесплатно и без регистрации
Реферат На Тему Виды Дезинфекции
Контрольная работа: Микропроцессоры №1.2. Скачать бесплатно и без регистрации
Реферат: Юридичний консалтинг
Контрольная Работа На Тему Агрохимия
Стратегия Реферат
Реферат: Salem Witchcraft Trials Essay Research Paper One
Реферат: Should The Harris Superquarry Go Ahead Essay
Реферат по теме Тенденции развития русской культуры
Реферат: Болонский процесс
Контрольная работа по теме Радиационные аварии, их виды, динамика развития, основные опасности
Курсовая работа по теме Основы построения тарифов имущественного страхования
Отчет по практике по теме Организация системы менеджмента магазина 'Сибириада'
Отчет По Практике В Казенном Учреждении
Реферат: Genre Theory Is The Invention Of Literary
Курсовая работа: Стадии управления качеством
Курсовая работа: Характеристика каротиноидов плодов и овощей
Реферат: Морфологічні засоби виразності мови
Отчет по практике по теме Техническое обслуживание и ремонт горного и электромеханического оборудования
Реферат: Email What Is It Good For Essay
Реферат по теме Маркетинговое понимание товара
Сердечно-сосудистая система
Диссертации Начальный Период Великой Отечественной Войны
Гигиена Полости Рта У Детей Реферат
Реферат: Sleep Essay Research Paper Still it cried
Доклад по теме Симпатические (невидимые) чернила
Курсовая работа по теме Особенности и проблемы управления регионом в условиях приграничного положения
Дипломная работа по теме Планирование организационной, производственной, маркетинговой и финансовой деятельности предприятия 'Сервис-строй'
Курсовая работа по теме Анализ влияния психологических аспектов управления в процессе создания социально-психологического климата в коллективе
Доклад: Музыка как молчание
Водоотводящие Сети Курсовой Проект Методические Указания
Информационные Технологии Практические Работы
Реферат по теме Екологічні продукти харчування, перспективи розвитку в Україні
Курсовая работа по теме Українська література на екрані. Використання досвіду кіно в шкільному курсі української літератури
Статья: Критерии эффективности электронного документооборота
Реферат по теме Монастыри по кремлёвскому типу
Реферат: Уинстенли, Джерард
Дипломная работа по теме Всемирная выставка 1889 года как отражение социокультурных процессов конца XIX века
Курсовая Работа На Тему Римское Право
Автореферат На Тему Естетичне Виховання Учнів Середнього Шкільного Віку В Полікультурному Середовищі На Закарпатті (1919–1939 Рр.)
Курсовая работа по теме Экологический мониторинг нефтяных загрязнений
Курсовая работа: Структурно-функціональні особливості легень у людини на етапах онтогенезу
Реферат по теме Выдающиеся люди башкирской культуры
Реферат по теме Савва Морозов - предприниматель
Любимая Книга Сочинение 9 Класс Огэ 9.3
Курсовая работа по теме Эффективность управления в таможенной системе
Практика Официанта Отчет
Написать Сочинение По Литературе По Пословице
Черная Курица Мини Сочинение
Доклад по теме Горнолыжный туризм в Австрии
Контрольная работа: Аксиологические концепции в русской философии. Скачать бесплатно и без регистрации
Отчет Практика Студента Юриста
Доклад: Анализ лесопользования в Приморском крае
Оформление Титулки Реферата
Сочинение: Образ Максима Максимыча в романе М.Ю.Лермонтова Герой нашего времени
Блочные шифры
Реферат На Тему Основные Принципы Государственной Системы
Реферат по теме Физика и метафизика смерти
Сочинение О Халке На Английском Языке
Реферат: Paradoxes Of Power Essay Research Paper It
Реферат: Период имажинизма в творчестве и жизни Сергея Есенина (1919 – 1923 гг.)
Дипломная работа по теме Здание фабричного корпуса в Петрозаводске
Реферат по теме Основные этапы разработки бизнес-плана инвестиционного проекта
Реферат: BoseEistein Condesation Essay Research Paper Everything in
Реферат: Банда четырёх
Реферат по теме Инверторные источники питания для электродуговой сварки





















































































