Реферат: исполнительные механизмы 2

⚡ 👉🏻👉🏻👉🏻 ИНФОРМАЦИЯ ДОСТУПНА ЗДЕСЬ ЖМИТЕ 👈🏻👈🏻👈🏻
исполнительные механизмы (2) - Реферат
Реферат: исполнительные механизмы 2 - BestReferat .ru
Реферат: Исполнительные механизмы - Xreferat .com - Банк . . .
Исполнительные механизмы автоматических систем :: РЕФЕРАТЫ . . .
Реферат: Исполнительные механизмы - Xreferat .com - Банк . . .
Реферат - Исполнительные механизмы - Производство
Реферат Исполнительные механизмы: гидравлические . . .
Исполнительные механизмы - Allbest
Исполнительные механизмы автоматических систем :: РЕФЕРАТЫ . . .
Механизмы электрические однооборотные . Реферат . Физика . . .
Пример Эссе По Истории Личность
Реферат: Разработка системы управления запасами на предприятии
Реферат по теме Если ремонт оказался модернизацией
исполнительные механизмы ( 2 ) - Реферат . Исполнительные устройства состоят из исполнительного механизма и регулирующего органа . Исполнительный механизм …
Реферат: исполнительные механизмы 2 - BestReferat .ru . ВВЕДЕНИЕ Исполнительные устройства состоят из исполнительного механизма и регулирующего органа . …
1) мембранные исполнительные механизмы в сборке с регулирующим органом должны иметь прямолинейную характеристику, т .е . изменение положения штока с затвором должно …
alversch .ru /proizvodstvo-i-texnologii/ispolnitelnye-mexanizmy-avtomaticheskix-sistem .html
2 .3 Конструкции электрических исполнительных механизмов Исполнительные двигатели постоянного тока .
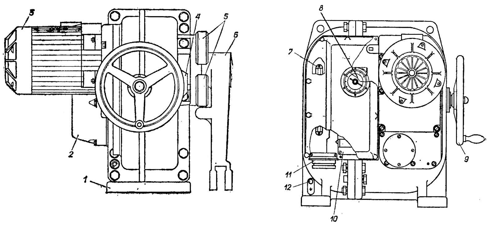
Исполнительные механизмы однооборотные контактные типа МЭОК и бесконтактные типа МЭОБ состоят из электрических серводвигателей (трёхфазные асинхронные двигатели) с …
Исполнительные механизмы однооборотные контактные типа МЭОК и бесконтактные типа МЭОБ состоят из электрических серводвигателей (трёхфазные асинхронные двигатели) с …
Исполнительные механизмы: гидравлические, пневматические и механические . Исполнительные устройства предназначены для преобразования управляющих (командных) …
1 .2 Пневматические исполнительные механизмы В качестве исполнительных механизмов в пневматических системах применяются поршневые и мембранные пневмоприводы .
alversch .ru /proizvodstvo-i-texnologii/ispolnitelnye-mexanizmy-avtomaticheskix-sistem_hhg4 .html
Исполнительные механизмы автоматических систем . На рис .24 показана схема действия такого гидромотора . Рисунок 24 - Схема действия шагового гидромотора . Масло от …
Механизмы электрические однооборотные Министерство образования и науки Российской Федерации Федеральное государственное бюджетное образовательное учреждение
Реферат по теме Клеточное ядро
Реферат: Административное право 11
Реферат по теме Развитие творческих способностей учащихся в процессе проведения физического практикума в основной школе
Курсовая работа по теме Товар и товарная политика предприятия
Молодая Семья Диссертация
Дипломная работа: Роль педагогического общения во взаимоотношениях учителя и учащихся
Дипломная работа по теме Особенности венчурного инвестирования в период международного финансового кризиса
Сочинение Рассуждение Как Читать Художественную Литературу
Памятка Как Писать Сочинение По Картине
Сочинение По Повести О Александре Невском
Реферат: Uncle Sams Song Essay Research Paper Uncle
Реферат: Бой при Холлабрунне
Контрольная Работа По Математике Класс Мерзляк
Дипломная работа по теме Аудит достоверности финансовой (бухгалтерской) отчетности ООО 'ОСТ-Мастер'
Доклад: Лизинг оборудования для малого предпринимательства
Реферат по теме Розвиток сукупної пропозиції в Україні
Курсовая работа по теме Безубыточность в малом предпринимательстве
Брачный Договор Эссе
Курсовая работа по теме Основы конструирования и технологии электрического аппарата
Реферат по теме Этимология и семантика слова 'кукла'. Кукла как знак культуры
Автоматия сердца
Реферат: Источники питания
Эссе По Фильму Учитель На Замену
Контрольная работа по теме Страхование в системе туризма
Курсовая Работа На Тему Розділення І Виявлення Катіонів Hg(Ii), Cd(Ii), Bi(Iii), Pb(Ii), Cu(Ii) Методами Аналітичної Хімії
Реферат: Анализ Конституции США и ее сравнение с Конституцией РФ 1993 года
Реферат На Тему Арилгалогениды И Фенолы
Гбф-путь (гексозобифосфатный путь распада углеводов)
Решу Егэ Сочинение По Русскому 2022
Дипломная работа по теме Разработка фирменного стиля кафе 'Botanique'
Курсовая работа по теме Особенности учета валютных операций и ценностей (на примере ООО 'АСП Логистик')
Курсовая работа: Развитие маркетинга в ОАО Белебеевский Знак Почета молочный комбинат
Реферат: The Living And The Dead Essay Research
Дипломная работа: Методика развития силовых качеств учащихся старших классов по национальным прыжкам. Скачать бесплатно и без регистрации
Реферат: Оптические иллюзии
Дипломная работа по теме Оценка эффективности инвестиционного проекта коммерческого предприятия на примере открытого акционерного общества 'Первый хлебозавод'
Доклад: Субстанциональный и процессуальный подход в психологии
Реферат: Плавание как оздоровительный вид двигательной активности
Дипломная Работа По Машиностроению
Административные Контрольные Работы 9 Класс
Контрольная Работа Студента Заочного Отделения
Лак Для Ногтей Эссе Купить
Дипломная работа по теме Особенности исполнения исполнительных документов о взыскании алиментов на несовершеннолетних детей
Дипломная работа по теме Межличностные коммуникативные связи и эффективность управления персоналом
Реферат: Сравнительный анализ стихотворений "Silentium" Тютчева и Мандельштама. Скачать бесплатно и без регистрации
Эссе На Тему Насилие
Сочинение Описание Царя Ивана Васильевича
Заключение Диссертационного Совета По Диссертации
Курсовая работа по теме Облік успішності учнів в школах
Реферат: Глаголы индивидуального спряжения
Школьные Товарищи Сочинение 4 Класс
Все Ли Люди Личности Мини Сочинение
Символы Российской Федерации Реферат
Дипломная работа: Изучение имени прилагательного в начальной школе по системе Занкова
Курсовая работа по теме Информационная система 'Грузоперевозки'
Реферат: Психика
Образ Утраченной Родины В Лирике Набокова Сочинение
Темы По Второму Направлению Итогового Сочинения
Реферат по теме Взаимосвязь экономики и энергетики
Реферат по теме Экономическая и социально-политическая жизнь Киевской Руси
Курсовая работа по теме Формирование мероприятий по разработке и продвижению кафе-столовой в г. Пскове
Реферат по теме Украина в первой трети двадцатого столетия
Техническое Задание На Курсовую Работу
Реферат: Організація будівельного майданчика
Дипломная работа: Специфика валютных операций коммерческого банка
Информационные Технологии И Процессы Реферат
Реферат На Тему История Развития Уличного Баскетбола
Итоговая Контрольная Работа По Родной Литературе
Реферат: Кентервильское привидение
Реферат по теме Языки народов мира
Сочинение На Тему Памятные Места Района
Скачать Оглавление Реферата
Реферат по теме Общая психология (контрольная)
Дипломная работа по теме Влияние биологически активных факторов окружающей среды на наследственные системы организма человека
Курсовая работа по теме Аналитический обзор законодательства об охране здоровья населения
Государственная Гражданская Служба Курсовая Работа
Курсовая работа по теме Коллекция моделей женских вечерних причесок
Курсовая работа по теме Світовий ринок нафти
Реферат по теме Государственное регулирование логистической деятельности
План Ч.Дауэса.
Контрольная работа: Условные и безусловные рефлексы
Отчет О Практике Образец Студента Экономиста
Реферат: First World War
Дипломная работа по теме Створення нового підприємства ресторанного бізнесу
Курсовая работа по теме Музыкальный язык сочинений Пауля Хиндемита
Контрольная работа: Способность студента организовать свою самостоятельную работу
Реферат: Agamemnon Essay Research Paper Agamemnon Agamemnon
Реферат Полезное Ископаемое
Разработка Стратегии Предприятия Курсовая
Итоговая Контрольная Работа 4 Класс Перспектива
Курсовая работа по теме Электроприводы подач станков с ЧПУ
Учебное пособие: Методические указания по подготовке к государственному экзамену по специальности «Национальная экономика» Тверь 2006
Дипломная работа по теме Влияние планировки торгового предприятия на рациональное распределение познавательных ресурсов посетителей на примере ООО СП ТЦ "Омский"
Реферат: Макаренко, Ушинскому, Сухомлинскому и Шацкому Word'97
Курсовая работа: Экономические и социальные последствия вступления России в ВТО 2
Курсовая работа: Законодательное регулирование незаконного оборота наркотиков
Курсовая Работа На Тему Використання Компютера На Уроках Музики
Учебное пособие: Методические указания к самостоятельной работе для студентов цдфо направление подготовки: Политология 030200(65)
Андреев Собрание Сочинений В 6 Томах
Реферат: Иностранные инвестиции – выход России из кризиса. Скачать бесплатно и без регистрации
Реферат: исполнительные механизмы 2









































































