Реферат: Получение изделий литьем металлов

⚡ 👉🏻👉🏻👉🏻 ИНФОРМАЦИЯ ДОСТУПНА ЗДЕСЬ ЖМИТЕ 👈🏻👈🏻👈🏻
Реферат: Получение изделий литьем металлов - Xreferat .com . . .
Реферат - Получение изделий литьем металлов - Технология
Реферат: Литье
Доклад по физике в 8 классе "Литье металлов" . | Социальная . . .
Доклад На Тему Литье Металлов По Физике - weightlossdedal
Реферат: Формообразование деталей литьем - Xreferat .com . . .
Способы литья металлов .Группа Компаний "ЛИГ" литье . . .
Получение заготовок литьем
Реферат на тему "Получение отливок центробежным литьем . . .
Получение отливок центробежным литьем
Реферат На Тему Патофизиология Клеточного Деления
Контрольная Работа 2 10 Класс Геометрия
Дипломная Работа На Тему Учет И Анализ, И Аудит Текущих Обязательств (На Материалах Оао Сзко «Молот»)
Получение изделий литьем металлов . Глава 1 . Изготовление заготовок литьем металлов . 1 .Сущность процессов литья металлов и задача литейного производства . Литьем …
Реферат: Получение изделий литьем металлов . Глава 1 . Изготовление заготовок литьем металлов . 1 .Сущность процессов литья металлов и задача литейного производства .
roman .by /r-10512 .html
• Получение изделий литьем металлов • История литья на Руси • Специальные виды литья . Литье под давлением • Производство пластических масс • Зубопротезное литье …
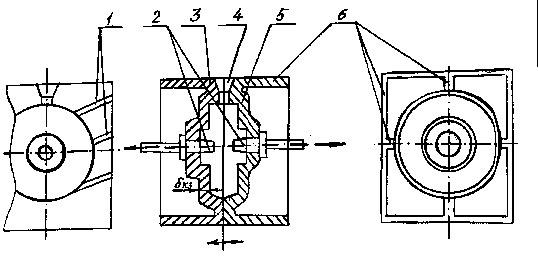
Литьем (или литейным производством) называют метод производства, при котором изготовляют фасонные заготовки деталей путем заливки расплавленного металла в заранее …
weightlossdedal .weebly .com /blog/doklad-na-temu-litje-metallov-po-fizike
Литьем (или литейным производством) называют метод производства, при котором изготовляют фасонные заготовки деталей путём заливки расплавленного металла в заранее …
Характерной особенностью способа получения заготовок литьем является техническая и экономическая целесообразность его применения при индивидуальном, серийном и …
www .gligl .ru /sposoby-litya-metallov .html
Литьем металлов называется технологический процесс получения из сплавов металлов различных заготовок . В ходе такого процесса специально заготовленная форма …
Реферат . Получение заготовок литьем . заготовка металл отливка . . . и эффективное снижение массы изделий за счет рациональной конструкции детали, применения …
Получение изделий литьем металлов . Реферат по прочим предметам . 98 Кб / 15 стр / 4626 слов / 30978 букв / 27 апр 1999
Получение отливок центробежным литьем Центробежное литье применяют в массовом, серийном и единичном производстве отливок из различных сплавов в металлических и …
Отчет По Производственной Проектно Технологической Практике
Дипломная работа по теме Аудит наличных и безналичных расчетов в организации на примере ООО 'Бипласт'
Ефросинина Контрольные Работы 3 Класс
Реферат по теме Державне управління охороною праці та організація охорони праці
Курсовая работа: Організація і методика аудиту розрахунково-касових операцій в ППА Єдність Біляївського району
Оформление Рамки Курсовой Работы
Контрольная работа: Права человека
Реферат по теме Античная философия в контексте "научных" и вненаучных форм знания
Контрольная работа: Научение дошкольников рассказыванию по памяти
Курсовая работа по теме Сооружение и монтаж контактной сети на железнодорожной станции
Реферат по теме Шотландия как объект туризма
Реферат На Тему Отстранение От Должности: Основания И Правовые Последствия
Реферат: Divide Your Life Into 3-5 Major Periods
Эссе На Тему Образование Будущего
150 Эссе По Английскому Языку
Реферат по теме Florida
Образец Введения Отчета По Практике
Гиппократ Вклад В Медицину Реферат
Статья: Бураковско-Аганозёрский расслоенный массив Заонежья
Курсовая работа по теме Методика подготовки и организации досуга молодежи
Курсовая работа по теме Корреляционный анализ торговой деятельности магазина бытовой и компьютерной техники
Реферат: Стандартизация и кодирование информации о товаре
Реферат: Наука о разнообразии
Реферат: Tuned Port Injection Essay Research Paper The
Контрольная работа по теме Оценка эффективности инвестиционного проекта по расширению деятельности ООО 'Медицинский центр Святого целителя Пантелеймона'
Каким Шрифтом Пишется Реферат
Контрольная работа: Сучасні системи освіти
Сочинение По Литературе Егэ Я И Другие
Курсовая работа: Технология возведения зданий 2
Реферат На Тему Море
Реферат: Потребитель и его права
Курсовая работа по теме Международное гуманитарное право
Курсовая Работа На Тему Договор Банковского Вклада И Договор Банковского Счета
Реферат На Тему "Обычай" И "Обычное" Как Категории Гражданского Права: Отдельные Вопросы Теории И Практики
Основные Способы Организации Жизни Управление Стрессами Реферат
Задание На Курсовую Работу Образец
Реферат по теме Культурная жизнь Херсона в 19-20 веках
Реферат: Проектирование активных RC-фильтров
Rainbow English Контрольные Работы Ответы
Реферат по теме Воображение и творчество
Реферат: Информационные логистические системы 2
Курсовая работа: Расчет параметров технологической операции и конструирование инструмента
Курсовая Работа На Тему Социально-Правовая Защита Детей И Подростков, Попавших В Трудную Жизненную Ситуацию
Реферат: Физическая культура часть общей культуры общества
Реферат На Белорусском Языке
Курсовая работа по теме Экспертиза в расследовании преступлений
Реферат: Диференціація навчання на всіх етапах уроку
Курсовая работа по теме Использование принципов объектно-ориентированного программирования на примере численных методов
Курсовая работа по теме Исследование товарного рынка
Сущность, задачи апелляционного судопроизводства: право обжалования, субъекты, арбитражные суды, рассматривающие апелляционные жалобы
Профилактика Болезней Органов Дыхания Реферат
Реферат На Тему Форма Государства
Первое Сочинение Издания
Краткое Сочинение Про Ломоносова
Реферат: Спортивні майданчики та ігрові поля
Дипломная работа по теме Забезпечення техногенної безпеки на підприємстві
Контрольная Работа 12 Ответы 6 Класс
Курсовая работа по теме Сущность реформ и контрреформ в истории России XYIII-XX вв
Сочинение Осенний Листок
Почет Влечет За Собой Обязанности Эссе Примеры
Курсовая Работа На Тему Система Управления Организацией
Реферат: European Economic And Monetary Union Essay Research
Лабораторная работа: Проектирование вэб-сайтов
Реферат: Статистические стандарты
Ядерная Война Реферат
Краеведение Реферат Памятник Южного Урала
Контрольная Работа 7 Класс Модуль 2
Курсовая работа: Интегрированные уроки по математике 7-9 класс
Сочинение Моя Улица 4 Класс
Алгебра 8 Колягин Контрольные Работы
Гранатовый Браслет Примеры Для Итогового Сочинения
Реферат по теме Тенденции протекционизма в современном мире
Топливно Энергетические Ресурсы Реферат
Реферат по теме Личность и ее элементы
Курсовая работа: Техническое оснащение предприятия туризма на примере турфирмы Спутник
Сочинение Эхо Войны В Душе Моей Откликнулась
Отчет по практике: Методика викладання в школі
Информационные Системы И Технологии Дипломная
Что Дает Человеку Отдых На Природе Сочинение
Машинное Обучение Эссе
Дипломная работа по теме Наследование по завещанию, правовые проблемы теории и практики
Реферат: Русская история глазами иностранцев. Скачать бесплатно и без регистрации
Реферат: Жизнь Шиллера
Реферат: Приватизация в Республике Беларусь
Контрольная Работа По Химии Неорганические Вещества
Реферат: Общее понятие экономической безопасности страны
Реферат: Вещества, улучшающие цвет, аромат и вкус продуктов
Дипломная работа по теме Роль государства в регулировании заработной платы
Книга: Тиберий Клавдий
Реферат: Сознание и нравственность
Реферат: Лермонтов М. Ю. Короткий миг творчества. Скачать бесплатно и без регистрации
Архив Курсовых Валют На Завтра
Происхождение Древних Славян Реферат
Реферат по теме Теория вектора
Примеры Для Эссе По Обществознанию Егэ Социология
Директор Эссе
Реферат День Солидарности В Борьбе С Терроризмом
Реферат: Психологическое изучение матерей, воспитывающих детей-инвалидов
Реферат: Mormons In Utah Essay Research Paper Mormons
Зависть Сочинение Огэ
Реферат: Получение изделий литьем металлов
















































































null">null">null">null">null">false">null">null">null">"









