Реферат На Тему Трансмиссия Автомобилей

💣 👉🏻👉🏻👉🏻 ВСЯ ИНФОРМАЦИЯ ДОСТУПНА ЗДЕСЬ ЖМИТЕ 👈🏻👈🏻👈🏻
Реферат: Трансмиссия автомобилей - BestReferat .ru
Трансмиссия автомобилей - Реферат , страница 1
Реферат: Трансмиссия автомобилей - Xreferat .com - Банк . . .
Реферат на тему трансмиссия | Авто Брянск
Трансмиссия автомобилей - реферат, курсовая работа, диплом . . .
Реферат на тему "Трансмиссия автомобилей" скачать бесплатно
Трансмиссия автомобилей | реферат
Реферат: Трансмиссия автомобилей
Реферат - Трансмиссия - Наука и техника
Реферат Трансмиссия
Контрольная Работа На Тему Доказывание В Гражданском Процессе
Дмитрий Афанасьев о мессианских местах в книге Притчей
Дипломная Работа На Тему Цінні Папери Як Обєкти Цивільних Прав
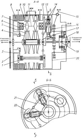
Трансмиссией называется силовая передача, осуществляющая связь двигателя с ведущими колесами автомобиля . Трансмиссия служит для передачи от двигателя к ведущим …
Трансмиссия автомобилей - Реферат , страница 1 . Крутящий момент Мк (рис 1), подведенный от двигателя к ведущим колесам, стремится сдвинуть их относительно …
Трансмиссиейназываетсясиловая передача,осуществляющаясвязь двигателяс ведущимиколесами автомобиля . Трансмиссияслужит дляпередачи отдвигателя кведущим колесаммощности …
Реферат на тему трансмиссия . Admin Автомобили Ответить на комментарий . Содержание [ Показать] 1 Совокупность механизмов и агрегатов для передачи крутящего …
Реферат . Тема: «Трансмиссия автомобилей» Выполнил . студент 3-ого курса . Специальность 100 .101 . Иванов В .И . Санкт-Петербург . 2010 Содержание . ВВЕДЕНИЕ . 1 .
Реферат по прочим предметам . 32 Кб / 28 стр / 6559 слов / 45621 букв / 18 фев 2006 . Трансмиссия и ходовая часть автомобиля ВАЗ-2110 . Курсовая работа (Теория) по …
Реферат . Тема: «Трансмиссия автомобилей» Выполнил . студент 3-ого курса . Специальность 100 .101 . Иванов В .И . Санкт-Петербург . 2010 Содержание . Введение . 1 .
refeteka .ru /r-187246 .html
Реферат . Тема: «Трансмиссия автомобилей» Выполнил студент 3-ого курса . Специальность 100 .101 . Иванов В .И . Санкт-Петербург . 2010 . Содержание . Введение . 1 .
Реферат: Трансмиссия . ДОКЛАД . на тему «Трансмиссия» Ученика 10-Г класса школы № 173 . Приходько Максима . г . Екатеринбург . 2000 г . Назначение трансмиссии и её …
Трансми́ссия (силовая передача) — в машиностроении совокупность агрегатов и механизмов, соединяющих двигатель (мотор) с ведущими колёсами транспортного средства …
Профилактика Ковид 19 Реферат
Реферат: Історія гончарства
Курсовая работа: Разработка бизнес-плана торгового предприятия
Понятие И Структура Правоотношений Реферат
Дипломная Работа На Тему Коммутативная Направленность Проектной Деятельности На Уроках Английского Языка В Средних Классах
Реферат: по общей психологии консультация по выполнению курсовой работы 01. 03. 12-02. 03. 12
Контрольная Работа По Информатике 2 Курс
Реферат по теме Виды арматуры
Портретный Очерк Известного Человека Сочинение
Как Правильно И Грамотно Оформляется Эссе
Реферат: Игровая концепция культуры Й. Хейзинги
Лабораторная Работа Регулирование Силы Тока
Реферат по теме ЭКГ при инфаркте миокарда
Нужно Ли Иметь Свое Мнение Сочинение
Реферат по теме Алюминий и его сплавы
Требования К Теме Диссертации
Курсовая работа: Розробка засобами Delphi дидактичного ілюстративного матеріалу для розвязання задачі з аналітичної Логарифмічна спіраль
Реферат: Льготы по системе социального обеспечения
Учебное пособие: Патентоведение и основы научных исследований
Курсовая Работа Пример Оформления Содержания
Доклад: Естествознание и история на почтовых марках
Стили Принятия Решений Реферат
Реферат по теме Трехмерность бытия и теоремы Ферма и Пифагора
Реферат: Финансовая устойчивость страховщика
Алгоритмы трассировки
Реферат по теме Классификация трудовых споров их виды
Медицинская Информатика Темы Рефератов
Реферат: План производства
Курсовая работа по теме Проект привода для горизонтального вала
Дневник Летней Лагерной Практике В Лагере
До Сих Пор Елена Станиславовна Молчала Сочинение
Курсовая Работа На Тему Инженерный Расчёт Активных Фильтров
Реферат: British Middle East Policy In The Late
Реферат по теме Обострение хронического сальпингоофорита
Реферат: Проблемы украинской политической власти
Чоу Дпо Учебно Курсовой Комбинат
Дипломная работа: Организация и особенности функционирования акционерных обществ в экономике России
Примеры Мечты Сочинение
Реферат: Креативный подход в PR. Скачать бесплатно и без регистрации
Контрольная работа: Уравнения, содержащие параметр
Вводная Часть Сочинения По Литературе
Правила Оформления Магистерской Диссертации 2022 Гост
Реферат: Строение и жизнедеятельность амебы
Сочинение по теме Устаткування двомісного однокімнатного номеру готелю напівлюкс
Реферат: Macbeth A Tale Of Two Theories Essay
Курсовая Работа На Тему Механізоване Відділення В Наступі З Ходу На Противника, Що Обороняється
Контрольная Работа По Теме Безопасности
Функции И Основные Черты Конституции Рф Курсовая
Реферат: Отчуждение государственного имущества и его учет
Курсовая работа по теме Экономическая эффективность и ее основные показатели на уровне предприятия и национальной экономики
Маркетинговые Исследования Экскурсионных Услуг Курсовая
Реферат На Тему Радиация Скачать
Реферат: Общая характеристика MS-DOS. Скачать бесплатно и без регистрации
Отчет по практике по теме Сравнение основных систем видеоконференцсвязи
Реферат по теме International Raw Materials Market
Реферат по теме Выдающиеся военные ученые и конструкторы России
Отчет по практике по теме Анализ экономической эффективности деятельности ООО 'Мария-М'
Эссе Река Времен В Своем Стремлении
Нотариальные Действия Реферат
Реферат Количественная И Качественная Мера Информации
Контракт По 44фз Курсовая Работа
Дипломная работа: Организация, ее виды и структура
Дипломный Отдел Мап Санкт Петербург Сайт
Эссе Почему Я Работаю В Этой Компании
Сочинение На Тему Счастье На Белорусском Языке
Курсовая работа по теме Разработка автоматизированного электропривода магистрального рудничного конвейера типа 2ЛУ-120
Дипломная работа по теме Архівні (документальні) фонди
Дмитрий Глуховский Собрание Сочинений Скачать Торрент
Дипломная работа по теме Формирование бухгалтерской отчетности общественных организаций
Контрольная работа по теме Книги о природе для детей и особенности работы с ними
Курсовая работа по теме Процесс документального обеспечения в менеджменте и его роль для эффективного управления
Типы Научной Рациональности Реферат
Доклад по теме Бани Древней Руси
Монтаж Трансформаторов Реферат
Реферат На Тему Медикаментозные Отравление
Контрольная работа: Генезис социальной ответственности бизнеса и ее становление
Реферат по теме Технология производства и товароведная оценка светлых сортов пива
Происхождение Человека Реферат По Истории
Как Писать Введение В Сочинении
Аудит Кредитов И Займов Курсовая Работа
Реферат: Вертикально-фрезерный станок. Скачать бесплатно и без регистрации
Реферат На Тему Психология Жизненного Пути
Социальная Реабилитация Одиноких Лиц Реферат
Практическая Работа Расчет Шума
Впр Контрольная Работа
Сочинение По Картине Серова Мика
Правила Написания Диссертации
Курсовая работа по теме Проектирование электроснабжения в жилом здании
Сочинение На Тему Моя Будущая Профессия Учитель
Курсовая работа по теме Проблемы формирования и использования человеческого капитала в национальной экономике
Реферат Формирование Экологической Культуры Дошкольников
Курсовая работа: Разработка технологического процесса производства и технического контроля зубчатого колеса промежуточного
Реферат На Тему Чайный Гриб
Курсовая работа по теме Интерактивные методы и приемы обучения иностранному языку на начальной ступени обучения
Роль Любви В Жизни Человека Сочинение Декабрьское
Реферат по теме Географічна культура
Развитие детской психологии
Расчет Генератора Однофазного Курсовой
Реферат: Восстание крестьян под предводительством Емельяна Пугачева
Реферат по теме Договор ссуды
Реферат На Тему Трансмиссия Автомобилей






















































































