Реферат На Тему Полы В Промышленных Зданиях

🛑 👉🏻👉🏻👉🏻 ИНФОРМАЦИЯ ДОСТУПНА ЗДЕСЬ ЖМИТЕ 👈🏻👈🏻👈🏻
Реферат: Полы в промышленных зданиях - BestReferat .ru
Реферат: Полы в промышленных зданиях - Xreferat .com - Банк . . .
Полы в промышленных зданиях - NewReferat .com
Полы промышленных зданий — allRefs .net
Реферат: Полы - BestReferat .ru
Реферат на тему "Полы" скачать бесплатно
Полы в промышленных зданиях
Полы в производственных зданиях .
Реферат: Система отопления в зданиях и сооружениях . . .
Энергосбережение в зданиях и сооружениях - Скачать Реферат . . .
Государственный Кредит Реферат
Лечение бронхиальной астмы
Эссе Экологические Проблемы Человечества
Название: Полы в промышленных зданиях Раздел: Рефераты по строительству Тип: реферат Добавлен 11:20:47 21 октября 2008 Похожие работы Просмотров: 1402 …
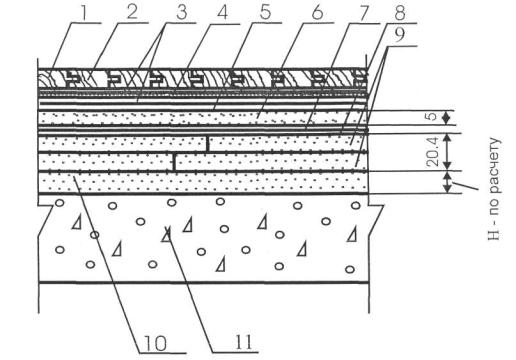
В одноэтажных зданиях и в нижних этажах многоэтажных зданий полы устраивают на грунте . При этом снимают верхний растительный слой и грунт основания уплотняют …
www .newreferat .com /ref-27778-1 .html
В одноэтажных зданиях и в нижних этажах многоэтажных зданий полы устраивают на грунте . При этом снимают верхний растительный слой и грунт основания уплотняют …
allrefs .net /c43/4c8iw/p34/
Полы промышленных зданий Строительство Краткая история промышленного строительства . На сайте allRefs .net есть практически любой реферат, курсовая работа …
Полы являются важным элементом внутренней отделки зданий . В жилых, общественных и промышленных зданиях полы устанавливаются на грунте или перекрытиях .
Полы в промышленных зданиях . Реферат по прочим предметам . 26 Кб / 13 стр / 2012 слов / 14022 букв / 3 ноя 2008 . Полы и напольные покрытия . Контрольная работа …
3 . значительные (краны на гусеничном ходу, удары падающих предметов) . В одноэтажных зданиях и в нижних этажах многоэтажных зданий полы устраивают на грунте .
В промышленных зданиях, так же, как и в гражданских зданиях, полы устраиваются как по перекрытиям, так и по грунту . К полам предъявляются целый ряд …
Тепловая энергия базовых и пиковых энергоустановок . Измерительная система теплосчетчика "Квант" . Система индивидуального расчета за тепло . Термостат, расчетный анализ …
Прочтите эту курсовую работу и свыше 400 .000 других . Не упустите свой шанс получить более высокие оценки и стать лучшим писателем!
Реферат по теме "Снегурочка"
Практическое задание по теме Підготовка керуючої програми і настроювання оперативної системи керування верстата 1В340Ф30
Курсовая работа по теме Обслуживание клиентов разных национальностей в гостинице
Курсовая работа по теме Кадастровая оценка земель сельскохозяйственного предприятия 'Вперед' Гатчинского района Ленинградской области
Контрольная работа: Программное обеспечение, компьютерные сети
Курсовая работа: Поведение затрат, их классификация
Самая Важная Профессия В Мире Сочинение
Катерина Лучик Света В Темном Царстве Сочинение
В Чем Трагедия Жизни Обломова Сочинение Рассуждение
Реферат: Nazi Siezure Of Power Essay Research Paper
Написать Сочинение Нравственные Уроки Древнерусской Литературы
Реферат: Greek Mythology Essay Research Paper Greek Mythology
Реферат На Тему Остров Пасхи
Проблема Воспоминаний Сочинение Егэ
Проектирование Ис Приемной Комиссии Вуза Курсовая Диаграммы
Курсовая Работа На Тему Особенности Урфо
Реферат: Австро-турецкая война 1716 1718
Курсовая работа по теме Программно управляемый генератор линейно нарастающего напряжения сверхнизкой частоты на микроконтроллере
Реферат по теме Души мёртвые и живые в поэме Н.В. Гоголя "Мёртвые души"
Курсовая работа по теме Особенности межмуниципального взаимодействия в России и зарубежных странах
Контрольная работа: Развитие теорий о происхождении жизни
Курсовая работа по теме Разработка газоснабжения города
Реферат: John Singer Sargent Essay Research Paper Recognized
Темы Рефератов По Философии Права
Что Такое Литературный Обзор В Дипломной Работе
Формирование Культуры Современной Организации Реферат
Сочинение На Тему Памятник Архитектуры
Курсовая работа по теме Система управления технологическим процессом выпаривания нитрата натрия
Архивная Практика Отчет
Культура И Техника Реферат
Реферат по теме Анализ и обоснование концепций существования Трои в научных источниках
Реферат: Обеспечение прав человека в Российской Федерации
Контрольная работа по теме Административно-правовой статус личности
Реферат: Phillippe Jaques Essay Research Paper When people
Контрольная работа по теме Этническая классификация осетинов и балкарцев. Католические праздники. Ордалии в Русской правде
Курсовая работа по теме Общественные отношения в сфере деятельности органов государственной безопасности на современном этапе
Реферат по теме Оттепель середины 1950-х гг. в жизни советского общества
Дипломная работа: Инвестиционная деятельность ОАО "Энергомашстрой"
Контрольная работа по теме Оцінка бізнесу
Реферат На Тему Криминально-Психологические Аспекты Правовой Культуры На Уровнях Индивида, Группы, Общества
Разделите Так Как Делили Работу Сочинение
Сочинение О Трех Штилях
Реферат по теме Зарождение магии и ее отражение в монотеистических религиозных системах - на примере христианства
Дипломная работа: Рыбные запасы Якутии. Скачать бесплатно и без регистрации
Особенности Русского Языка Реферат
Эссе Обществознание Егэ Сколько Баллов
Реферат На Тему Вивчення Природних Екосистем
Дипломная работа по теме Волонтерство как человеческий ресурс реализации социально значимых государственных проектов
Курсовая работа по теме Производство полиэтилена методом низкого давления
Диагностическая Контрольная Работа 6 Класс Никольский
Дипломная работа: Гражданско-правовые способы защиты права собственности
Сочинение На Английском На Тему Фильмы
Топик: Билеты и ответы на них по Английскому языку на 2002 год
Курсовая работа по теме Система органов государственной власти Российской Федерации
Краткое Сочинение По Рассказу Дубровский
Курсовые Русский Язык В Национальном Детском Саду
Учебное пособие: Методические указания к написанию рефератов. Темы рефератов по курсу «Управление персоналом»
Реферат: Контроль качества продукции общественного питания
Реферат: Сущность ценовых стратегий
Практическая Работа Стили Речи
Темы Написания Итогового Сочинения
Курсовая работа по теме Планирование механизированных работ и определение состава машинно-тракторного парка для бригады с разработкой операционной технологии уборка ботвы сахарной свеклы с одновременной погрузкой в транспортные средства
Контрольная Работа 4 Английский Язык
Реферат На Тему Биография И Научная Деятельность Юстуса Либиха
Доклад по теме Православная миссия на Мадагаскаре
Реферат по теме Органы государственного управления в сфере экономики и промышленности. Контроль и надзор
Реферат по теме Разработка экономико-математической модели с учетом факторов неопределенности
Контрольная работа по теме Стратегічний потенціал компанії та його розвиток
Дипломная работа по теме Роль и функции царя в раннеантичном обществе
Реферат: Ранние браки
Стивен Кинг Собрание Сочинений
Лекция На Тему Основні Характеристики І Принципи Функціонування Універсальних Мп
Финансовая Система Италии Реферат
Курсовая Работа На Тему Фразеологізми У Російських Творах Т.Г. Шевченка
Дипломная работа: Финансовая устойчивость
Евгений Онегин Аргументы К Итоговому Сочинению
Курсовая Работа На Тему Роль Развивающего Обучения Для Развития Творческой Личности Младшего Школьника
Реферат: Совершенствование стимулирования работников предприятия ПРУП "МЗКТ"
Реферат По Общей Педагогике Способности У Детей
Реферат: Bigfoot Essay Research Paper Bigfoot also known
Курсовая работа по теме Экономическая эффективность деятельности ООО 'ToySale'
Сочинение по теме Мотив дороги в произведениях Аксёнова
Форвард 3 Контрольные Работы
Сочинение Рассуждение 3 Пальмы Лермонтов
Курсовая работа: Адыгские педагоги-просветители. Скачать бесплатно и без регистрации
Реферат по теме Социальные проблемы студентов при трудоустройстве
Интересные Темы Рефератов
Предмет теории вероятностей. Виды случайных событий
Дневник Отчет По Технологической Практике
Реферат: Интонация как стилистическое средство выразительности
Реферат: The Underground Railroad Essay Research Paper Rachel
Реферат: Культурно-історичні об’єкти рекреації
Мышление Как Основа Рационального Познания Курсовая Работа
Курсовая работа по теме Техническое обслуживание и ремонт автомобилей ВАЗ-2107
Дипломная работа по теме Исторический материал на уроках математики как средство активизации познавательной деятельности учащихся
Курсовая работа по теме Обучение лексическому аспекту на основе использования мультимедийных технологий
Сказки О Животных Сочинение
Реферат На Тему Коллективные Спасательные Средства
Сочинение Егэ Демоверсия 2022
Летописное Сочинение Миниатюра 5 Класс
Реферат На Тему Полы В Промышленных Зданиях





































.jpg)








































