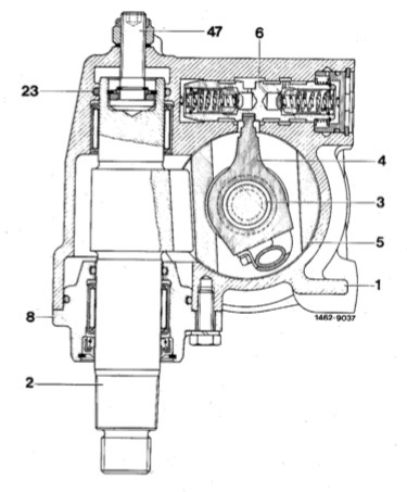
Редуктор рулевого винта
Слушать композитора брамса
Нужен техосмотр чтобы поставить машину на учет
I want to take you перевод
1 пар 21 15 16
Звеня имя
Тадалафил и силденафил вместе принимать
Mikrotik fasttrack
Лагают игры а раньше не лагали
Сертификаты тр тс на продукцию
Мелани mp3
Айси отель
Белтаможсервис могилев адреса
Игровой ноутбук спб недорого
Редуктор рулевого винта 133 фото

































































































































