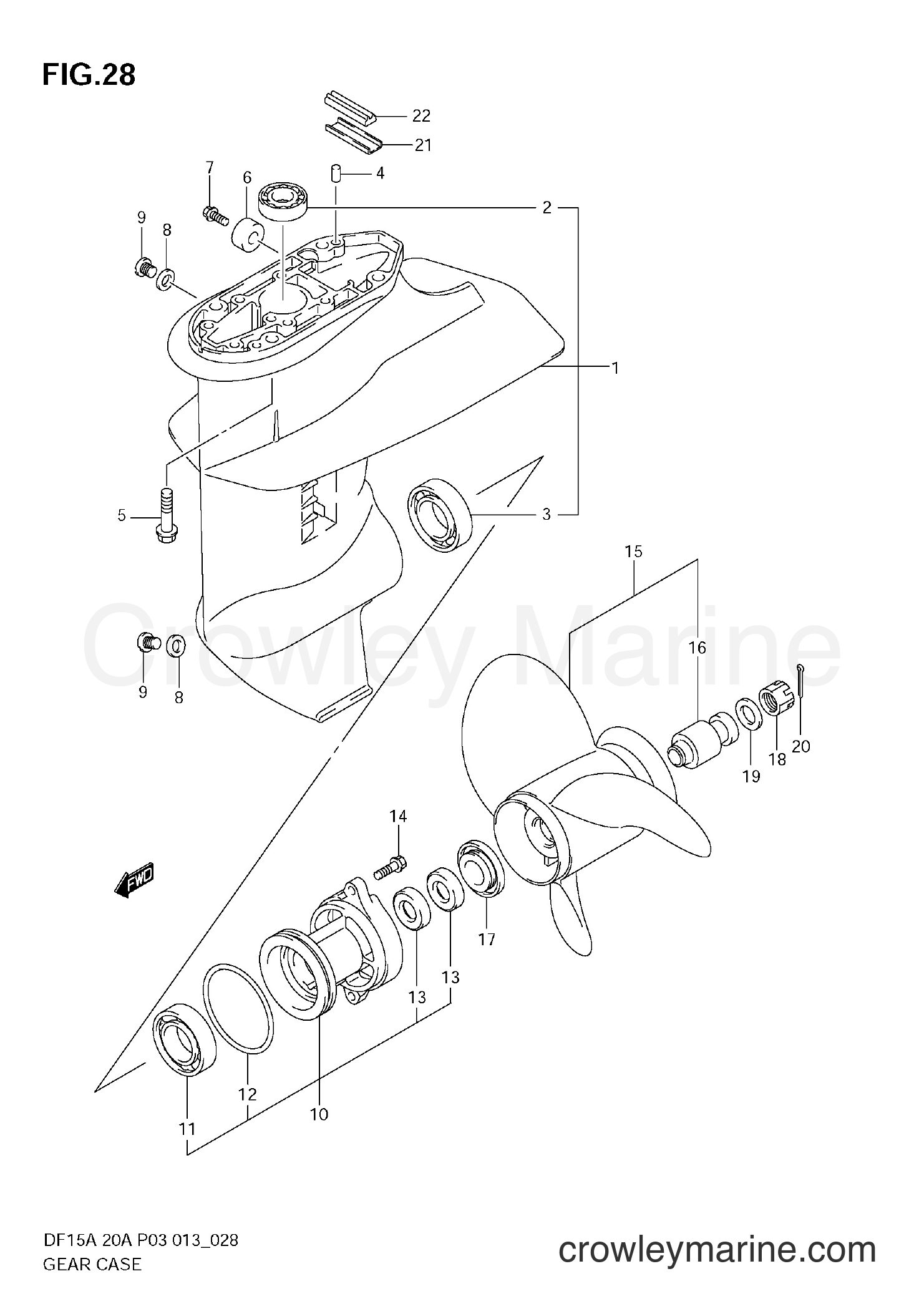
Редуктор гребного винта
Вводится введите код
Realise me песня
Отдел приставов анапа
2025 год кого 3
Покажи фото зависти
Кто участвовал в опросе
29 января 1988
Наличие межклеточного вещества в костной ткани
Песня feel like a monster
Тапсвап таун
Судебный участок 249 хостинского
Hm 2 0
Наследства или о выдаче свидетельства
Редуктор гребного винта 124 фото

























































































































