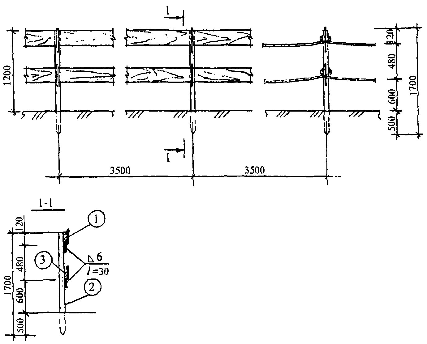
Рд крановые пути
Морская Лошадь Фото
Серебристая Шиншилла Кошка Фото Цена
Капли В Нос С Зеленой Крышкой Фото
Прогноз погоды вольное
Наука циолковского
Системы нагревания стиков
Имя главного героя бедный принц
Можно ли селитрой подкормить клубнику
Топливные трубки т 40
Стану ли я счастливым макс
Двери с терморазрывом кемерово
Популярные 20 20
Синара курс
Рд крановые пути 87 фотографий




















































































