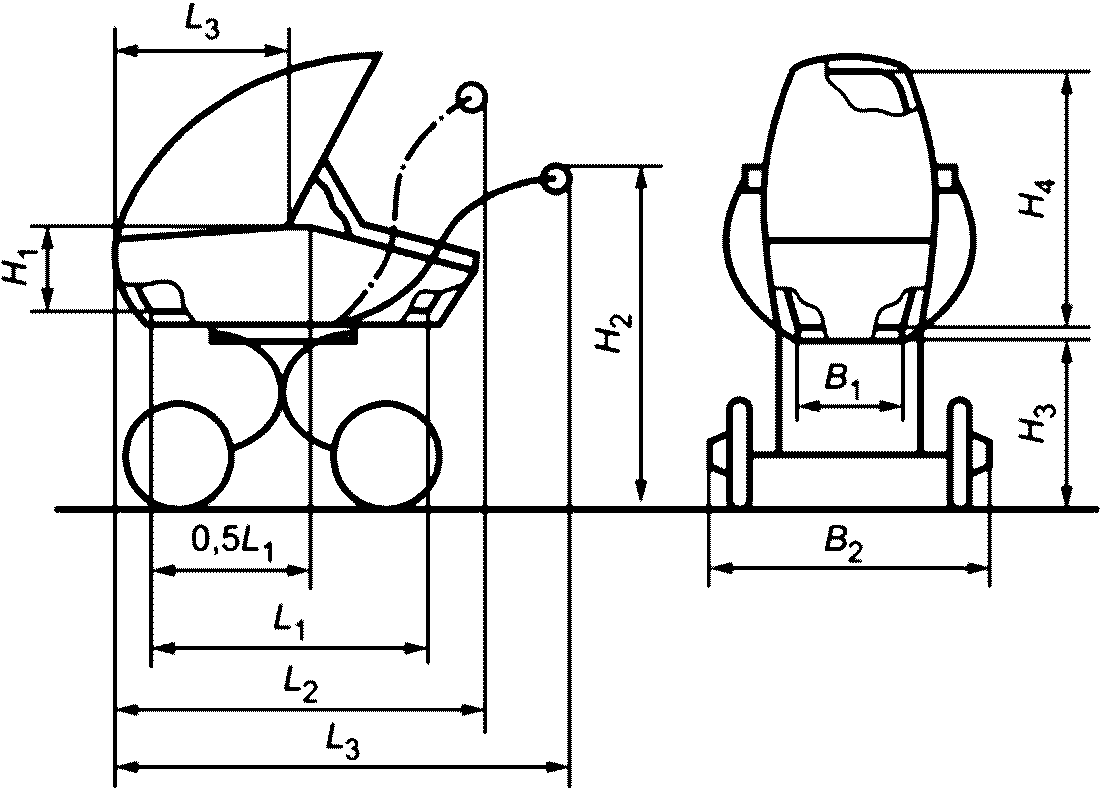
Размеры стандартной коляски
Размеры стандартной коляски 106 фото
Строительный магазин чердаклы
Что подарить на 19 лет совместной жизни
Оплата с выдачей наличных
Внутренние размеры улья дадана
Docs нормативные документы
Контроль за работой на линии
Пиколинат хрома фэт отзывы
Бк 17 отзывы
51 99 17
Срочное оформление документов



































































































