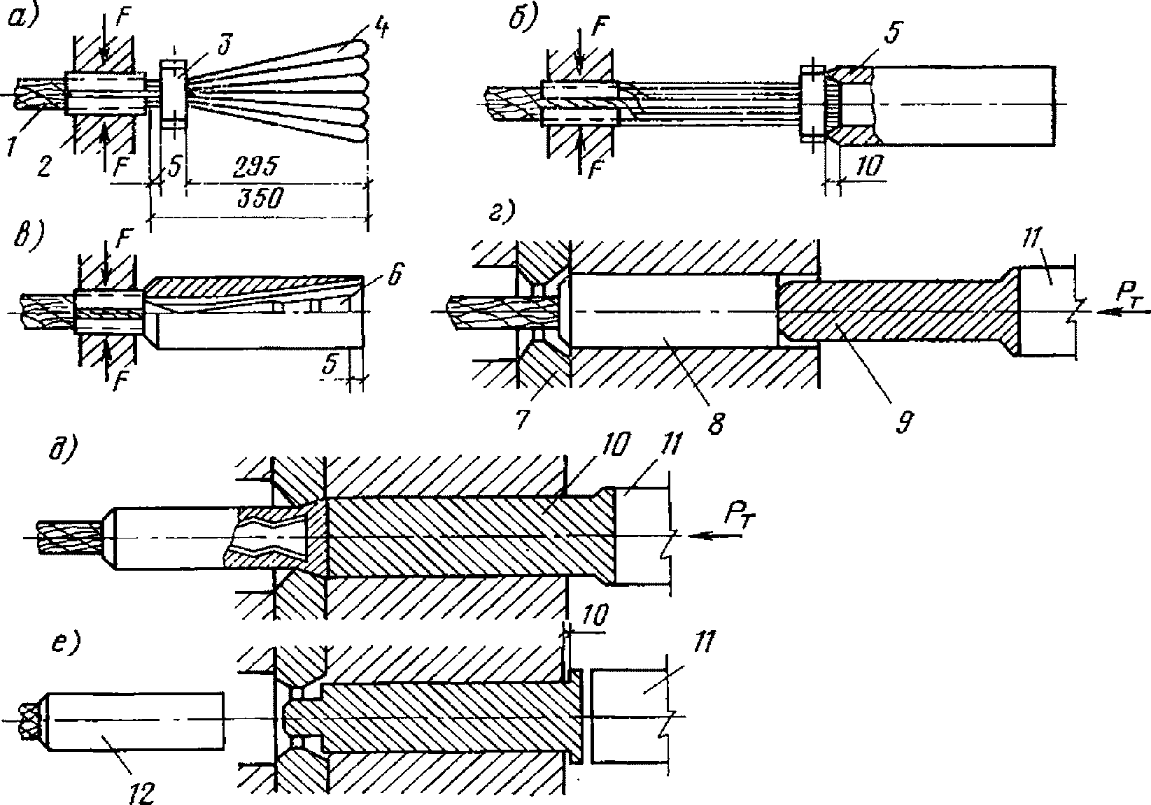
Разделка заделка
Гороскоп на 25 октября козерог женщина
Pex al pex stout
Последовательность этапов обучения игры в баскетбол
Органайзер для хранения вещей одежды
Конкурентное и неконкурентное ингибирование примеры
Наследство и родня
С кем жил капаклы
Номидеч
Игры радужные друзья прятки
Рыжая молодка
Столица 22 зимних олимпийских
Drowning love автор
5 мкр 52
Разделка заделка 114 фото














































































































