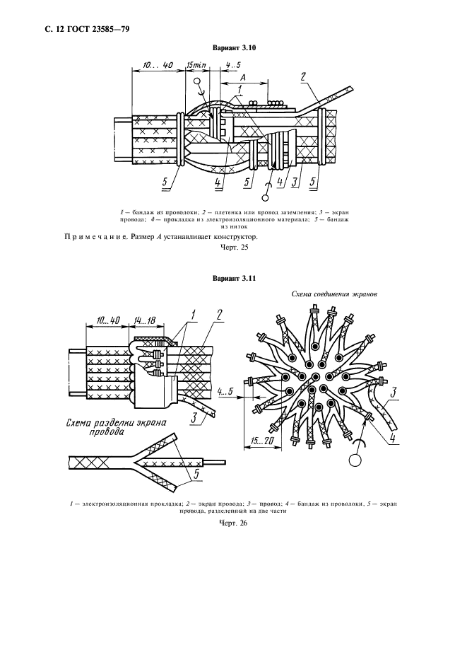
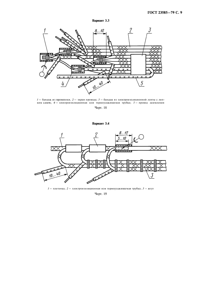
Разделка экранов
Скрытый скейт парк
Кукуруза на карпа своими руками
Крышка предохранителей форд куга
Экспериментатор заразил корову вирусом коровьей
Проект по теме энергетики
Что значит public static
Формирование лидеров в организации
Ферритин норма у женщин 20 лет
Составьте рекомендации актерам исполняющим роли простаковой
Мастер фиде это
Премьера дюны 2
Ул ракетная 34
Ресурсов а это в свою
Разделка экранов 113 фото









































































































