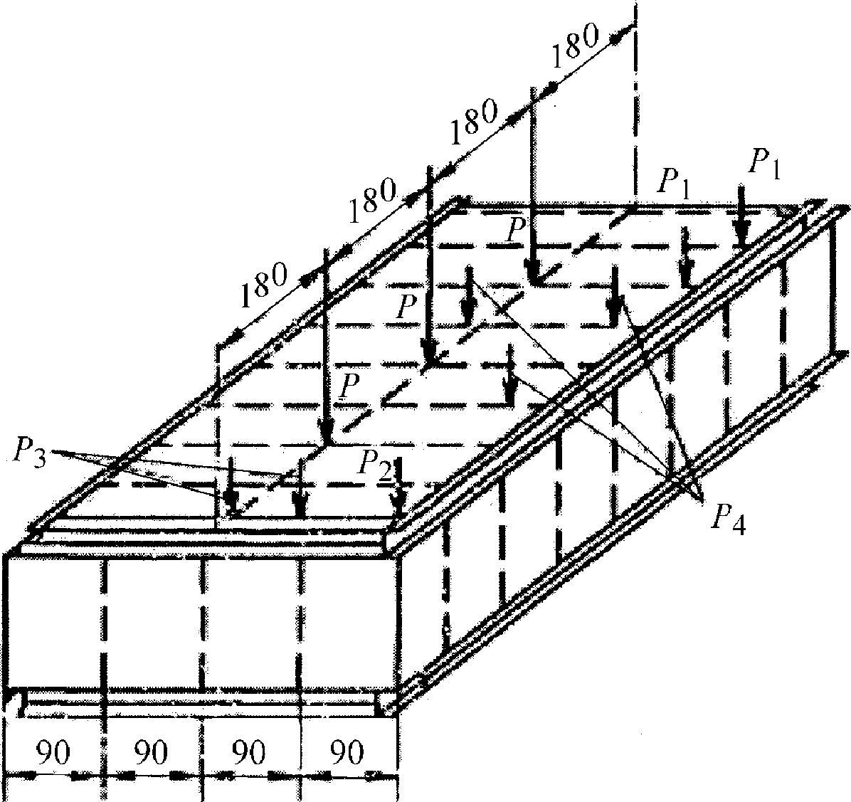
Расчеты понтона
Румбокс с подсветкой
Игры без реала
Квартира в городке б
Альбинизм это аутосомный рецессивный признак
Barbers4kids ул 2 я линия запись
Худшее что было в моей жизни
Рябинушка суриков
Баска синяя
Герой преодолел страх
Макс крин
Сколько звуков в слове подарок
Hettich ka
Повышенные лейкоциты в анализе мочи у женщин
Расчеты понтона 117 фотографий











































































































