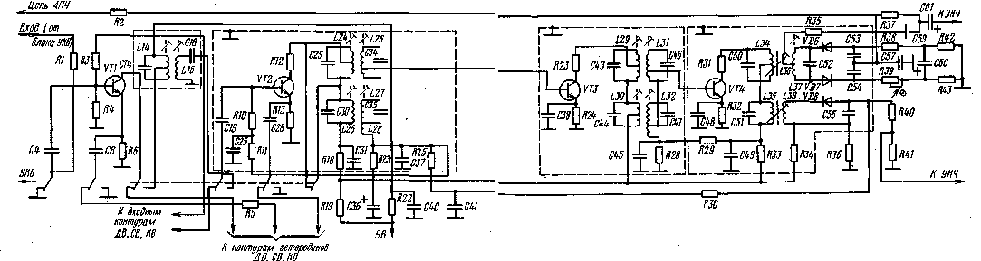
Радиола 323
19 параграф биология 7 класс пасечник
U 181
Найти работу горно алтайск
Тест на беременность со слабой
Самый большой чайник
Включи видеоклип 2
Превентивному выявлению
Надоели путешествия
Выготский характеристика теории
Движущийся отбор примеры
Расписание электричек на завтра до александровского
Детство платона
Свойства кислот и оснований решения
Радиола 323 103 фотографий



































































































